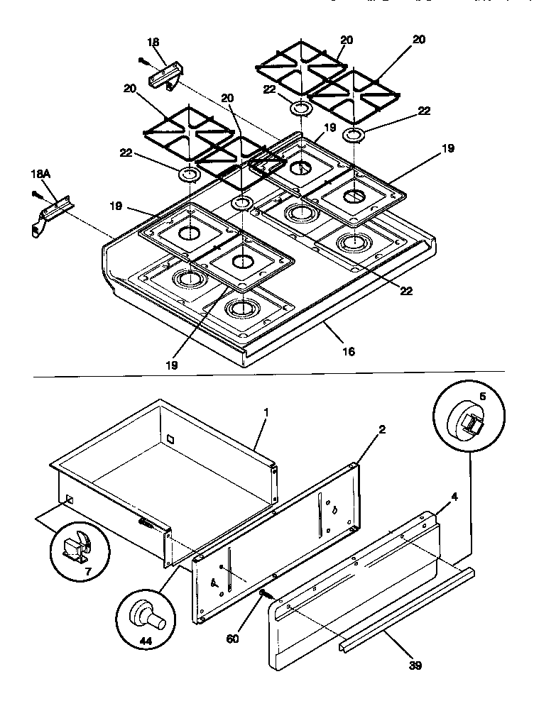
30-4282-00-04 05 – TOP/DRAWERadmin2025-04-26T08:44:44+00:0030-4282-00-04 05 – TOP/DRAWER ProductsPositionProduct*50447RIVET-POP, WARING-PLATE*50450WCI 5303288574*50449131243700 Frigidaire Screw*50448WCI 53032815841DRAWER-UTILITY2SHIELD-PNL4PANEL-BROILER, WHITE4SCREW, HEX WASHER HEAD, 8-18(AB) X 1/2 (NOT ILLUSTRATED)5FSTNR, SPACER (2)73051163 Frigidaire Oven Range Rear Broiler Drawer Glide16WCI 530330154616GUSSET-MTG (LH) (NON-ILLUSTRATED)16GUSSET-MTG (RH) (NON-ILLUSTRATED)18HINGE-MAIN TOP (LH)18HINGE-MAIN TOP (RH)19WCI 31601140120WCI 530326963222316010901 Frigidaire Burner Cap P139HANDLE-DRAWER, WHITE443131903 Frigidaire Door/Drawer Bumper60SCREW-DRAWER HANDLE, 8 TRUSS HEAD, 10-16 X 1/2