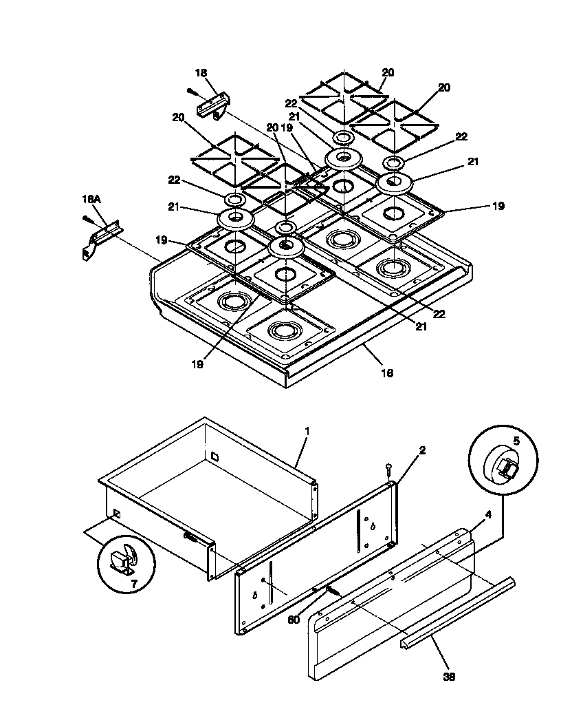
30-4952-00-05 05 – TOP/DRAWER