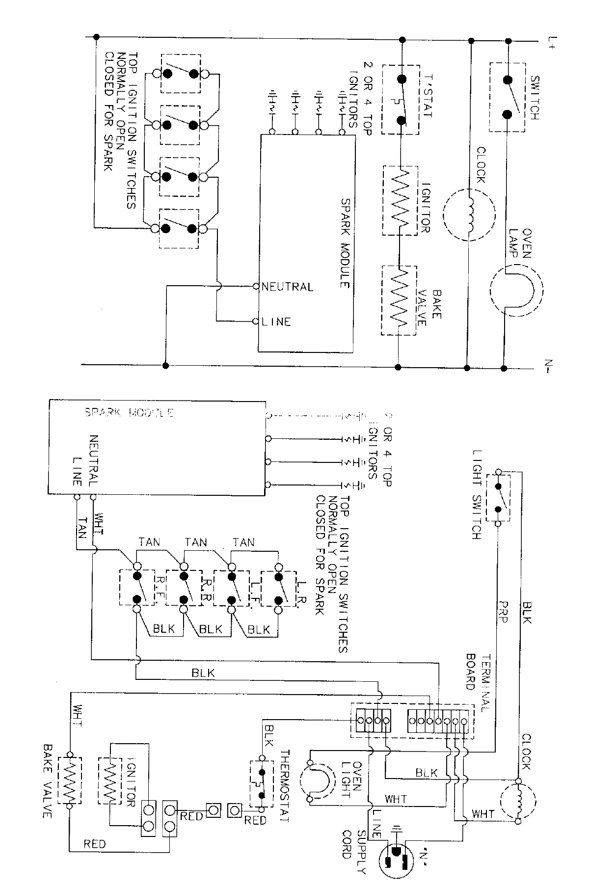
31001PAA 06 – WIRING INFORMATIONadmin2025-04-26T09:10:29+00:0031001PAA 06 – WIRING INFORMATION ProductsPositionProductNIMAY 15001767