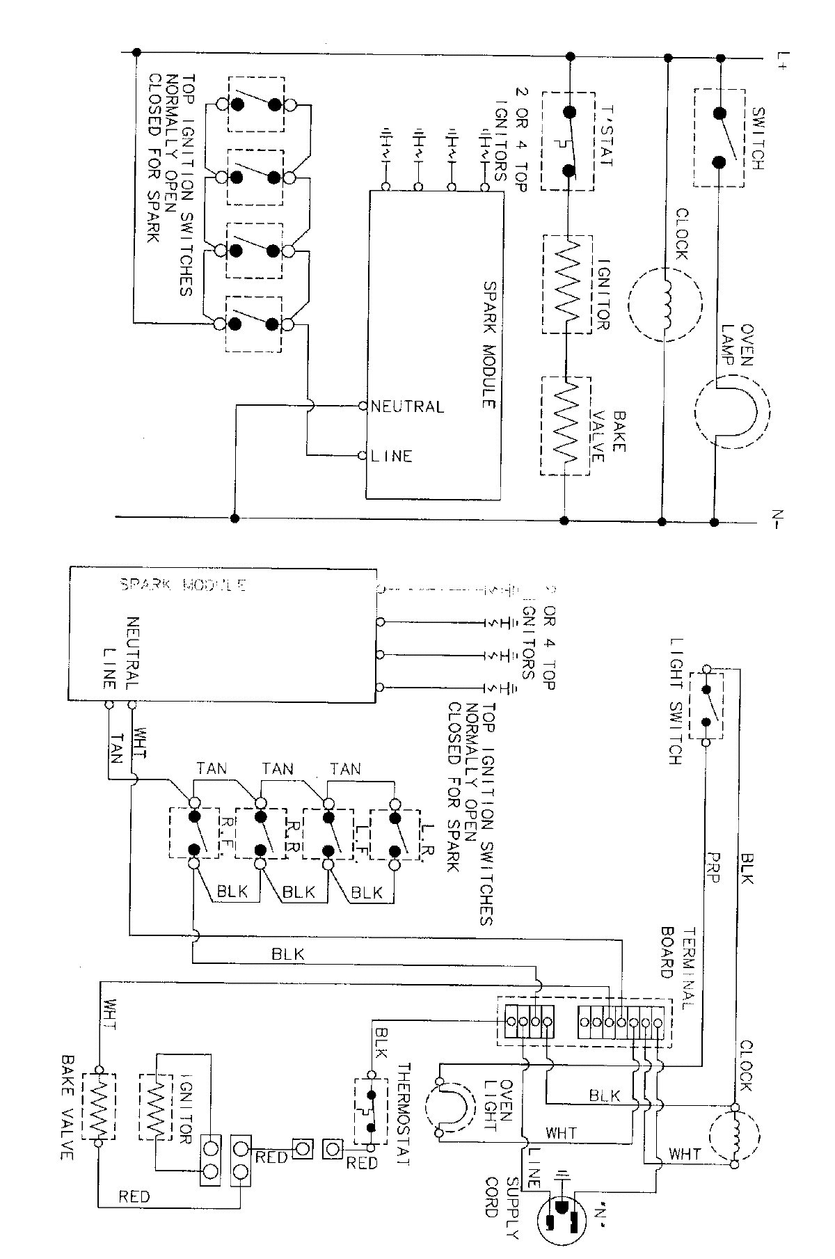
31001SAA 06 – WIRING INFORMATIONadmin2025-04-26T09:09:46+00:0031001SAA 06 – WIRING INFORMATION ProductsPositionProductNIMAY 15001767