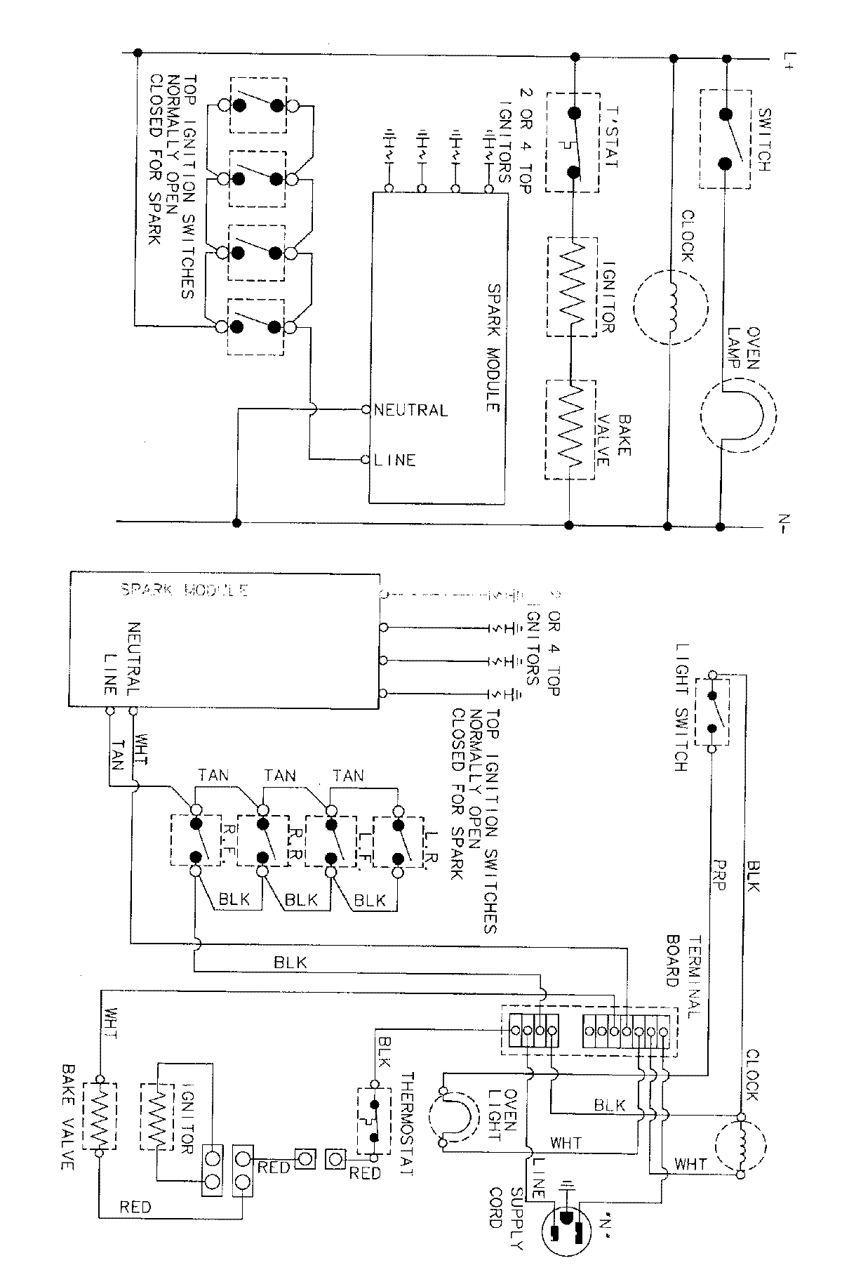
31003KAWD 06 – WIRING INFORMATIONadmin2025-04-26T09:09:12+00:0031003KAWD 06 – WIRING INFORMATION ProductsPositionProductNIMAY 15001767