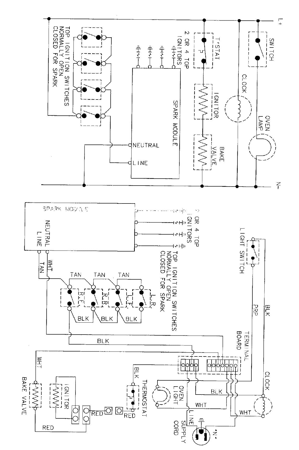
31003PAAD 04 – WIRING INFORMATIONadmin2025-04-26T09:07:59+00:0031003PAAD 04 – WIRING INFORMATION ProductsPositionProductNIMAY 15001767