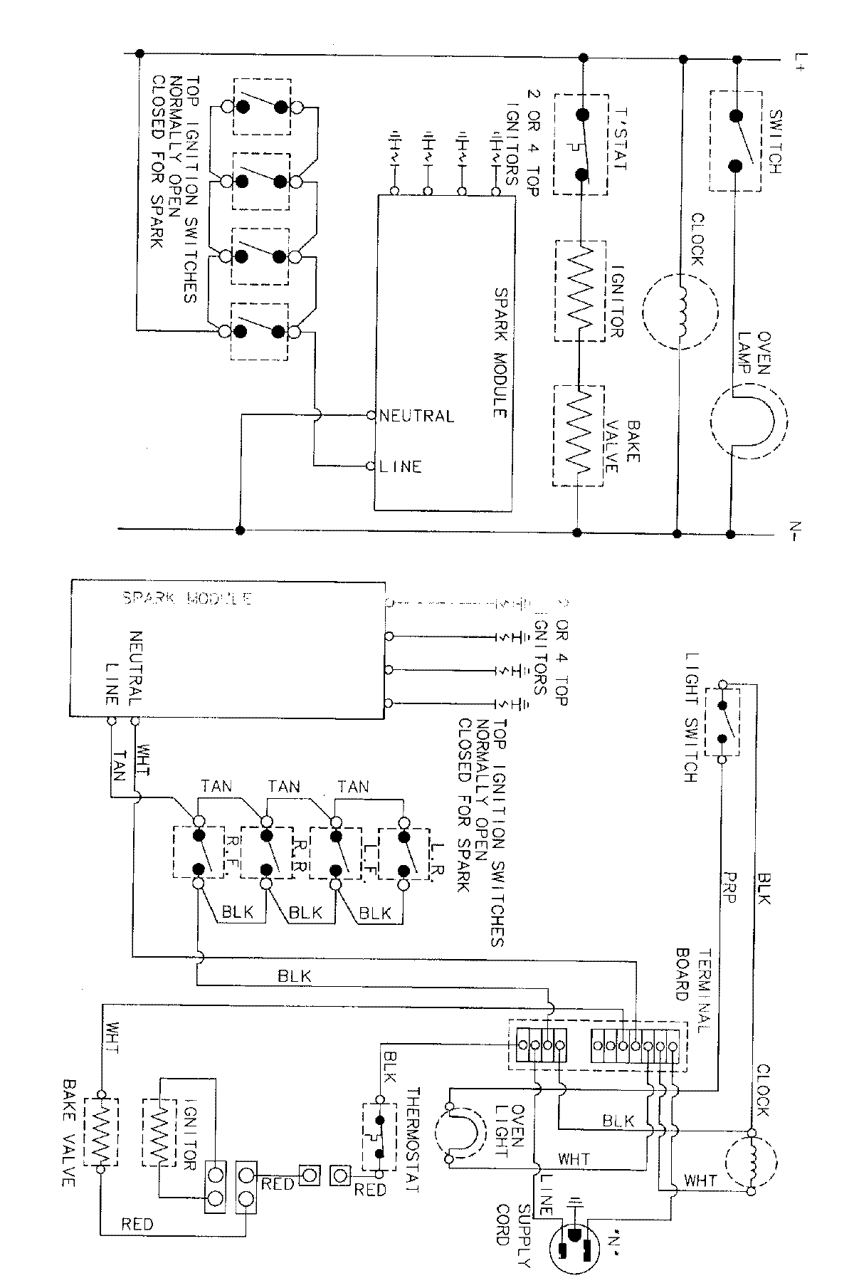
31003SAA 06 – WIRING INFORMATION

31003SAA 06 – WIRING INFORMATION

Products

PositionProduct
NIMAY 15001767