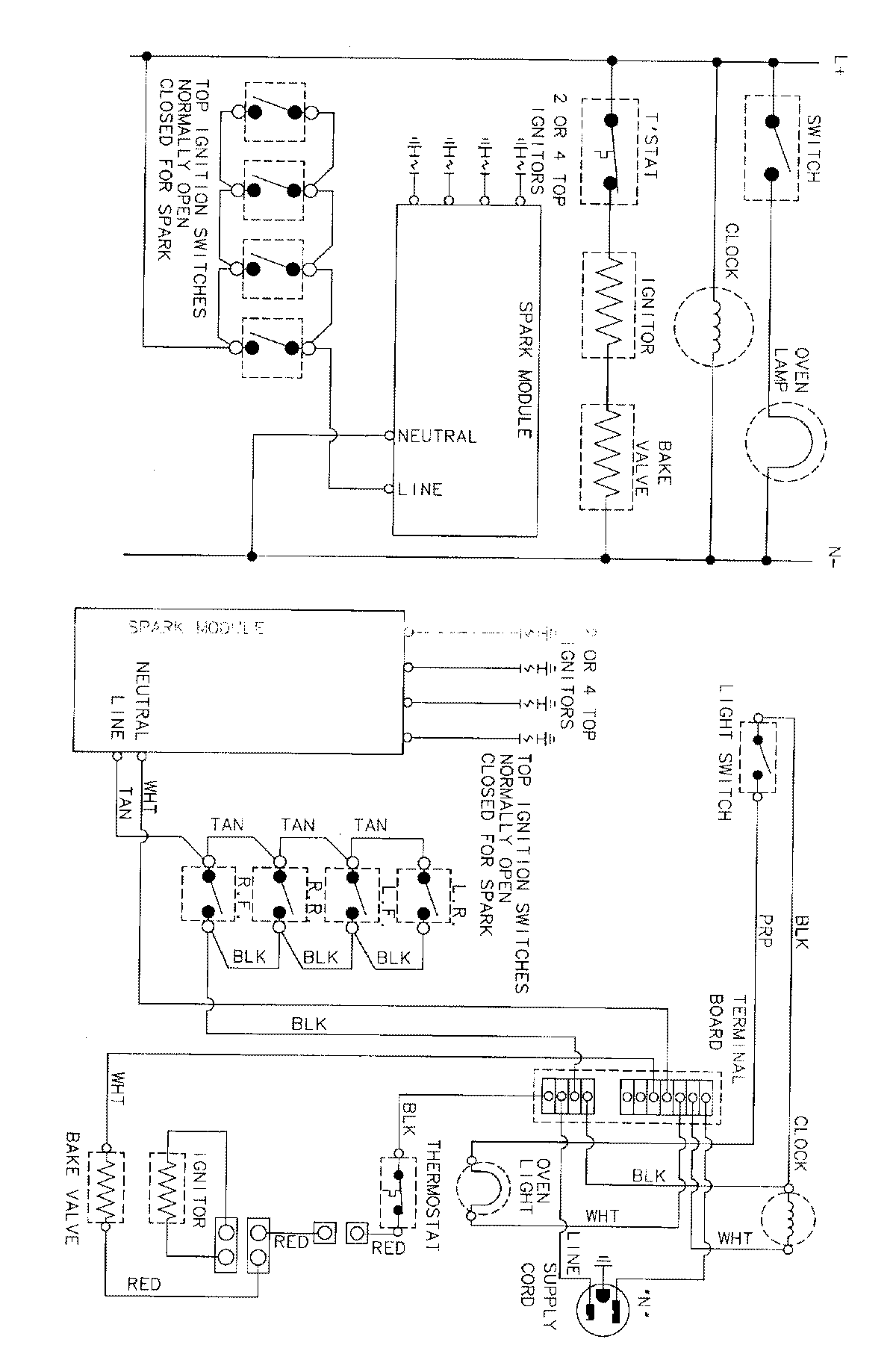
31101PAA 05 – WIRING INFORMATION

31101PAA 05 – WIRING INFORMATION

Products

PositionProduct
NIMAY 15001767