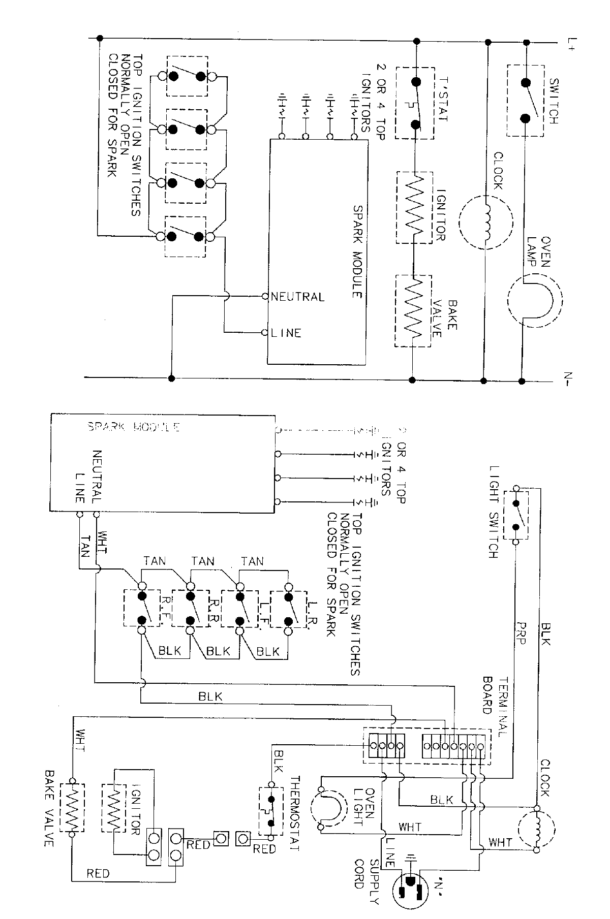
31203KAW 06 – WIRING INFORMATIONadmin2025-04-26T09:09:08+00:0031203KAW 06 – WIRING INFORMATION ProductsPositionProductNIMAY 15001767