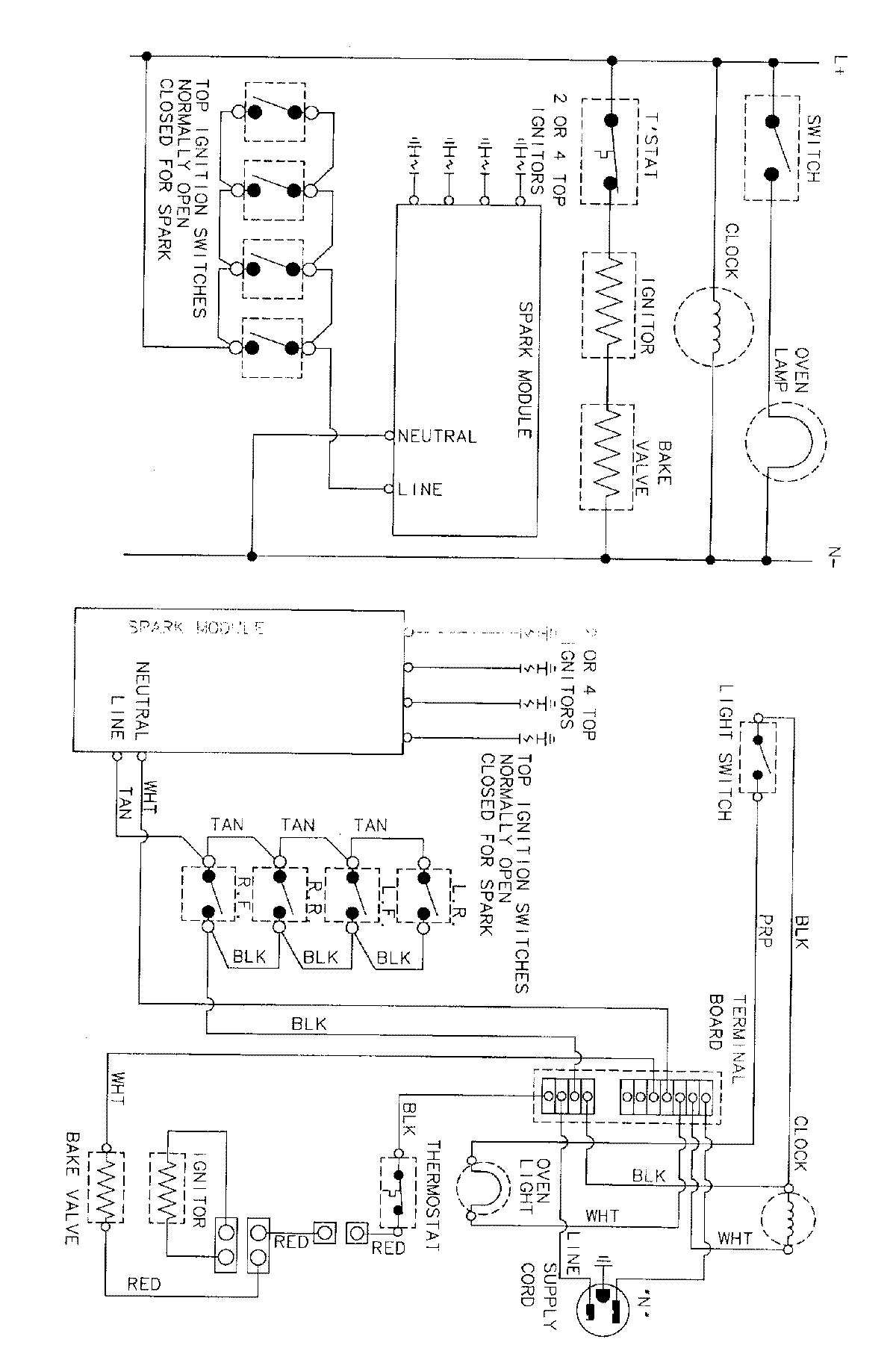
31211WAV 07 – WIRING INFORMATIONadmin2025-04-26T09:09:20+00:0031211WAV 07 – WIRING INFORMATION ProductsPositionProductNIMAY 15001767