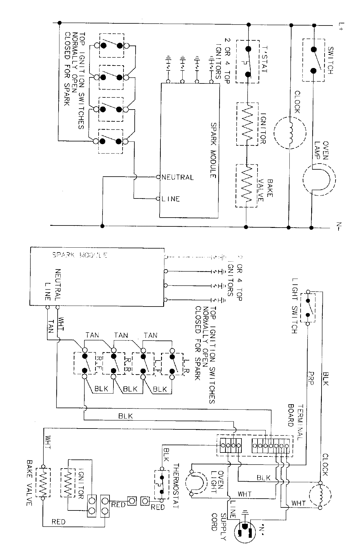
31211WAW 07 – WIRING INFORMATIONadmin2025-04-26T09:11:40+00:0031211WAW 07 – WIRING INFORMATION ProductsPositionProductNIMAY 15001767