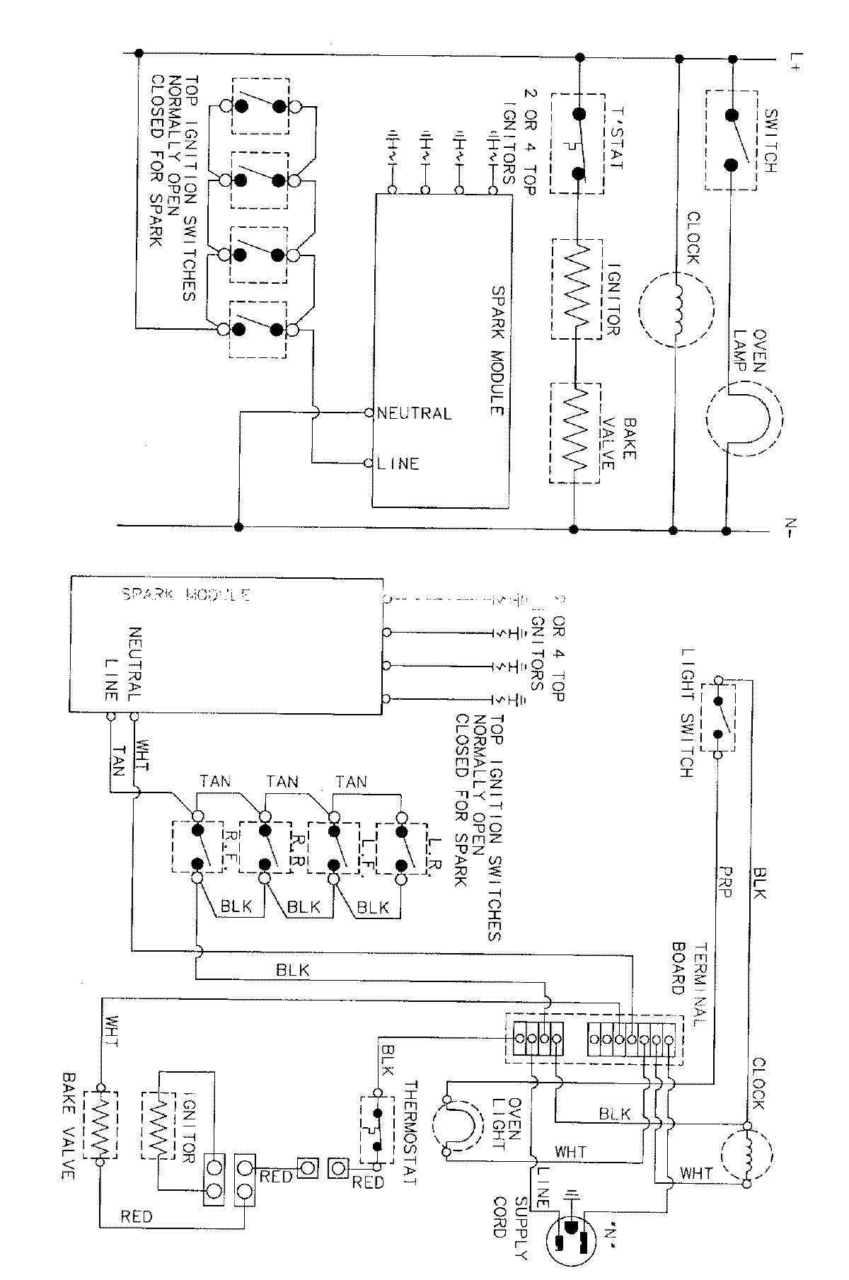
31213SAA 06 – WIRING INFORMATIONadmin2025-04-26T09:09:42+00:0031213SAA 06 – WIRING INFORMATION ProductsPositionProductNIMAY 15001767