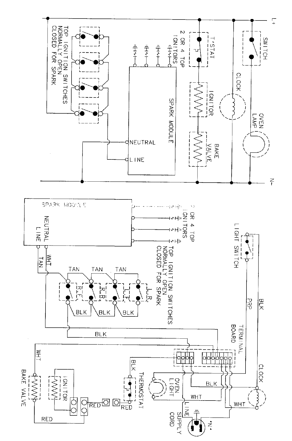
31315WAM 07 – WIRING INFORMATIONadmin2025-04-26T08:55:19+00:0031315WAM 07 – WIRING INFORMATION ProductsPositionProductNIMAY 15001767