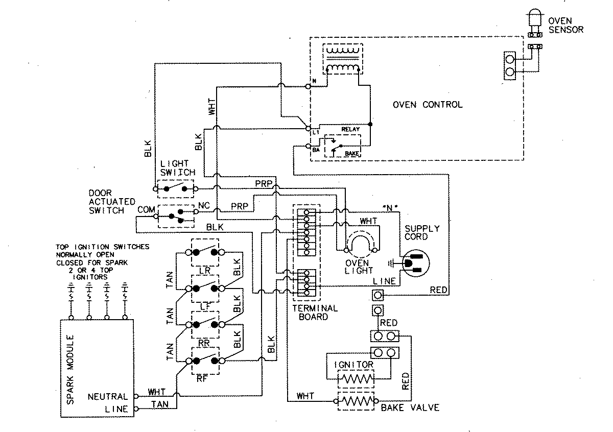
31315XBA 07 – WIRING INFORMATIONadmin2025-04-26T08:55:28+00:0031315XBA 07 – WIRING INFORMATION ProductsPositionProductNIMAY 15002211NIMAY 15002639