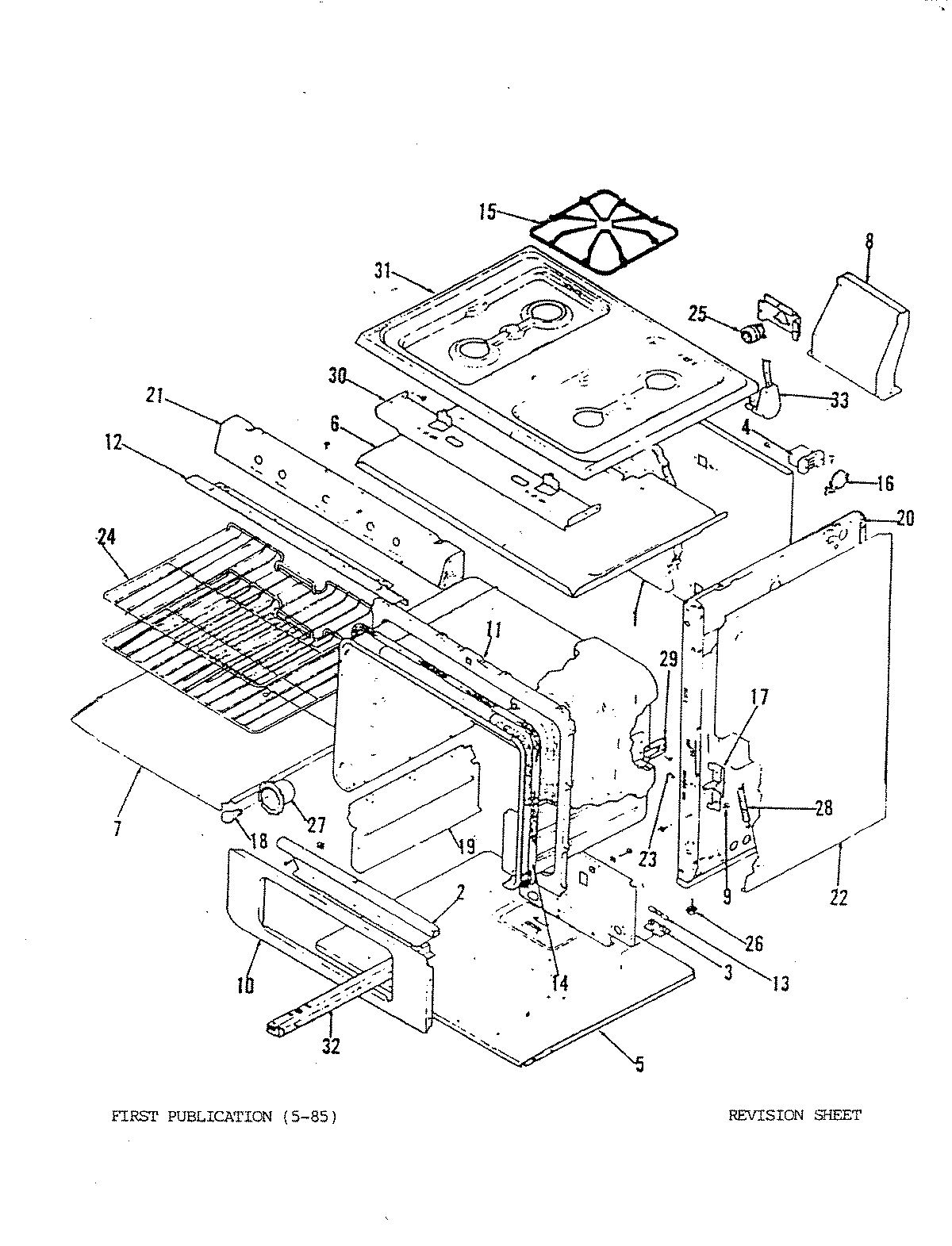
31FA-3KLX 01 – BODY