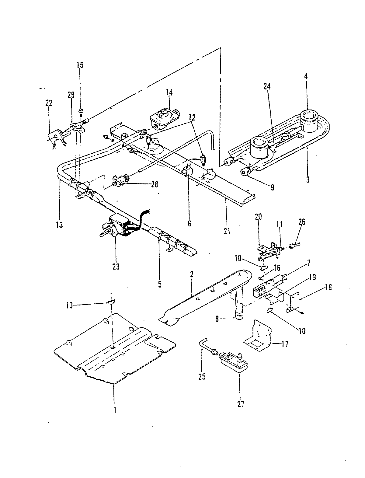
31FA-92LX-ON 04 – GAS CONTROLSadmin2025-04-26T08:55:32+00:0031FA-92LX-ON 04 – GAS CONTROLS ProductsPositionProduct1MAY 01533211MAY 3601F099-452MAY 7505P064-602MAY 02982343MAY Y03002524MAY 10832195MAY 11412256MAY 14822396MAY 14822377W11027451 Whirlpool Knob Thermostat7WP7711P135-60 Whirlpool Knob8MAY 06072149MAY 15552229MAY Y06072159MAY 155525110MAY 155525810MAY 155525411MAY 156626712MAY 156628112MAY 7505P057-6013MAY 7513E02814MAY 166524815MAY 198631917MAY 086244519MAY 086243420MAY 086243521MAY 086247023MAY 7515P015-6024MAY 193032124MAY 193025425MAY Y093610226MAY 093120227MAY 7501P021-6027MAY 194527128NOT REQUIRED PART OR SEE NOTE FUSE (NOT REQUIRED)29MAY 7502P016-6029MAY 7502P015-6029MAY 7502P109-60