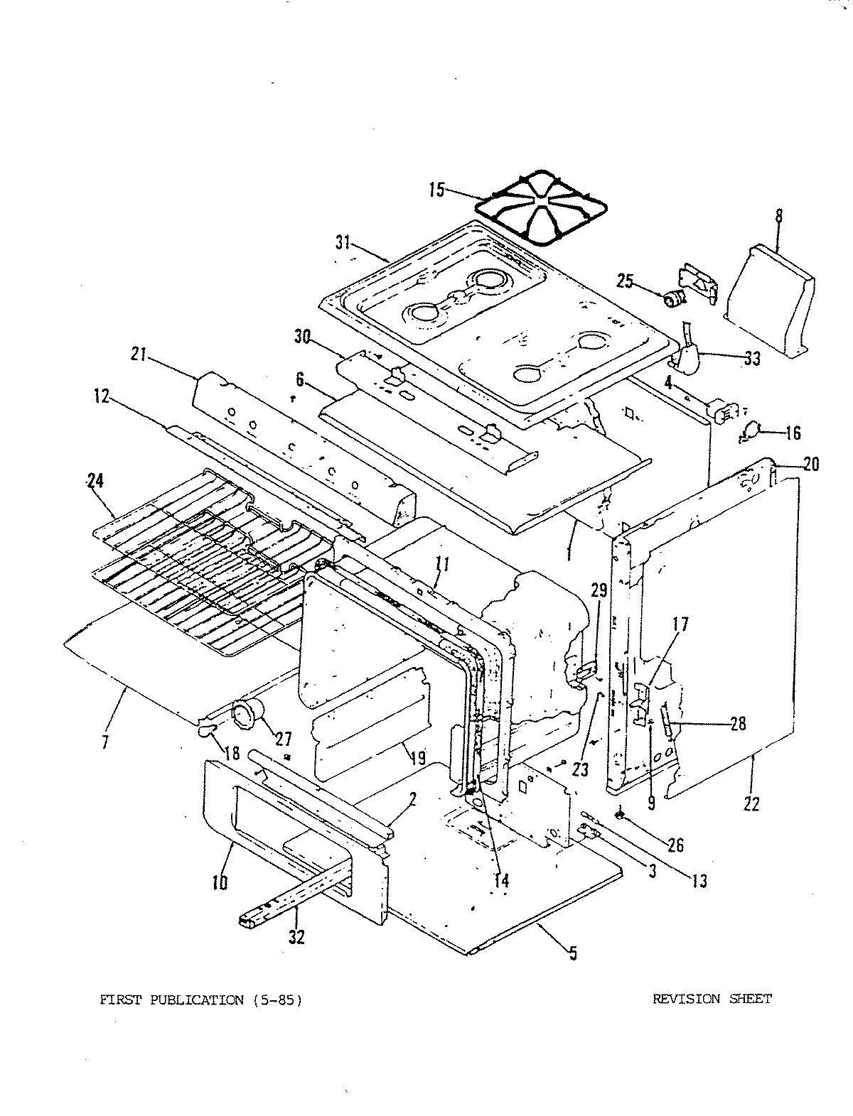
31FB-3KLX 01 – BODY