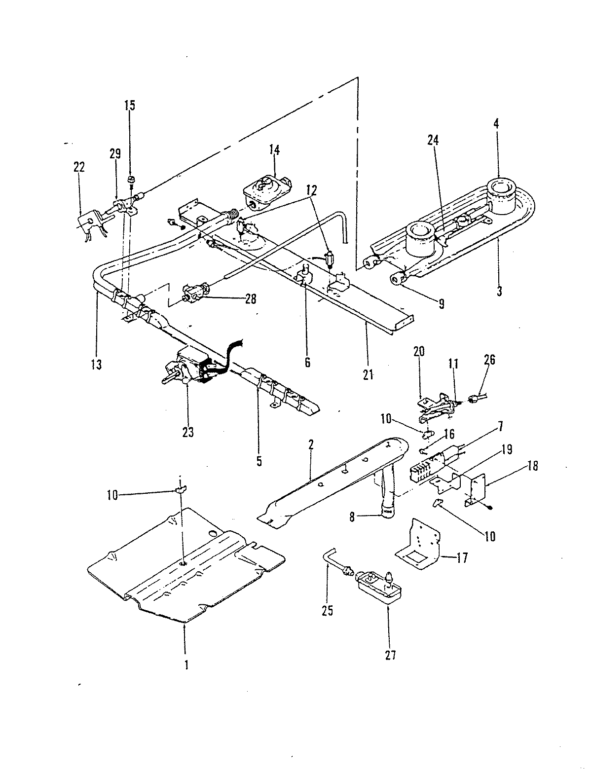
31FN-2KLX 03 – CONTROL SYSTEMadmin2025-04-26T08:53:49+00:0031FN-2KLX 03 – CONTROL SYSTEM ProductsPositionProduct1MAY 01533211MAY 3601F099-452MAY 02982342MAY 7505P064-603MAY Y03002524MAY 10832195MAY 11412255MAY 4005F304-516MAY 14822376MAY 14822397WP7711P135-60 Whirlpool Knob7MAY 7711P154-607MAY 13584387MAY 14822247MAY 7432P062-608MAY 06072149MAY 15552519MAY 15221069MAY 15552229MAY Y060721510MAY 155525410MAY 155525813MAY 3830F006-4513MAY 7513P043-6014MAY 166524815MAY 198631917MAY 086244518MAY 086242019MAY 086243420MAY 086243521MAY 086247022MAY 183239523MAY 7404P062-6023MAY 7515P008-6024MAY 193034225MAY Y093610226NOT REQUIRED PART OR SEE NOTE FUSE (NOT REQUIRED)27MAY 194527028MAY 195136729MAY 7502P109-6029MAY 7502P016-6029MAY 7502P015-60