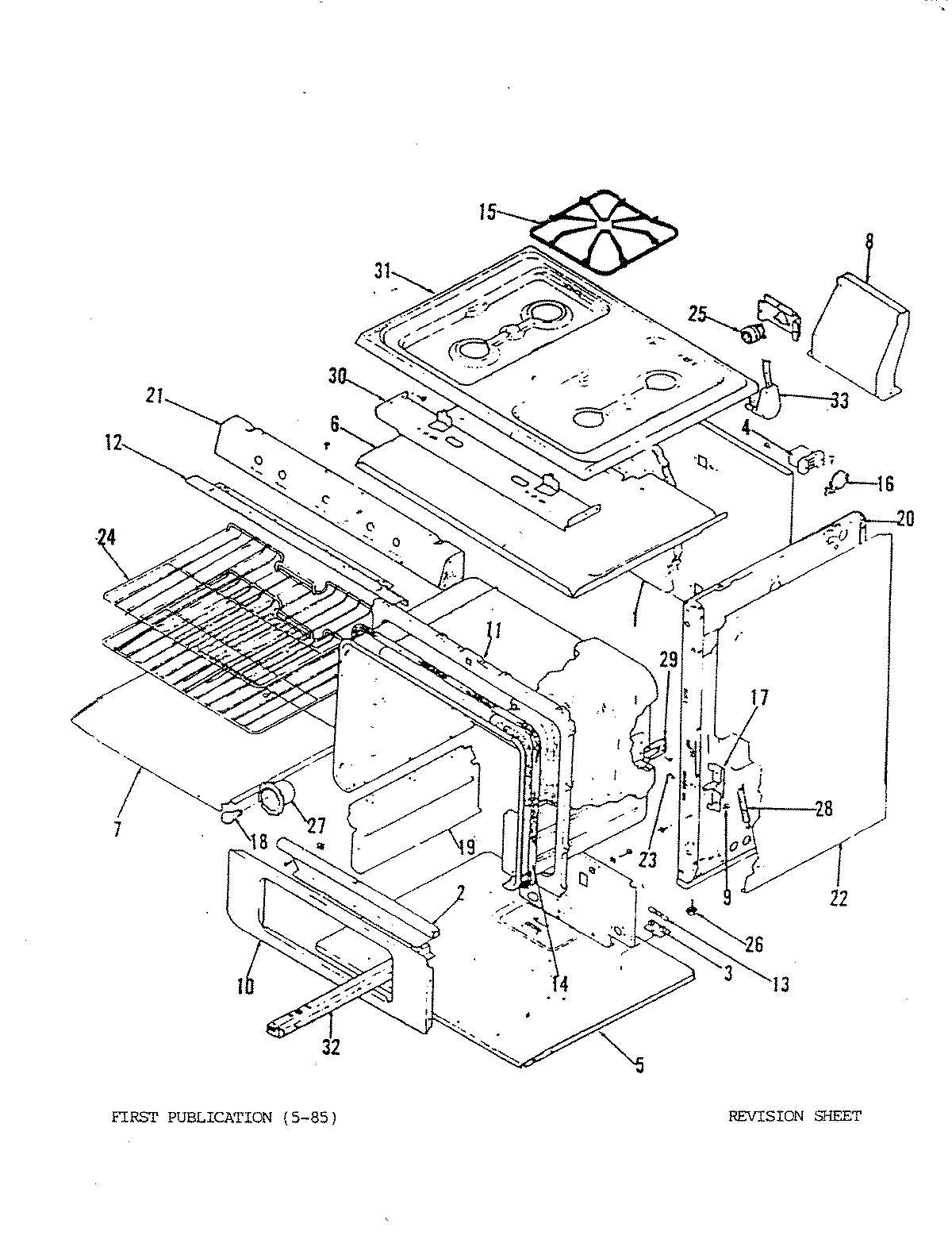
31FN-3KLV 01 – BODY