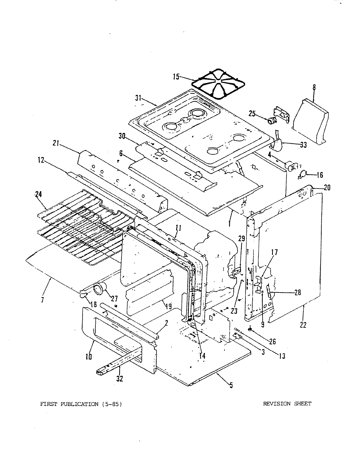
31FY-1XS-ON 01 – BODY