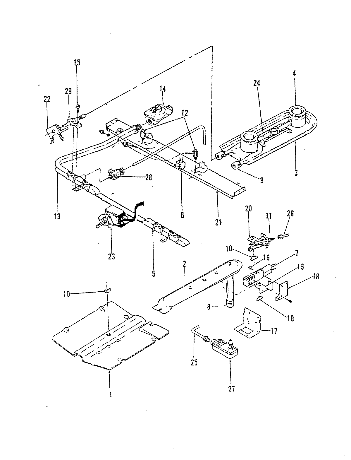
31FY-2KX 03 – CONTROL SYSTEM