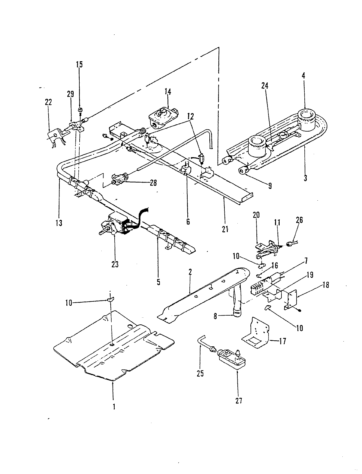
31FY-3KV 03 – CONTROL SYSTEMadmin2025-04-26T08:53:58+00:0031FY-3KV 03 – CONTROL SYSTEM ProductsPositionProduct1MAY 01533211MAY 3601F099-452MAY 7505P064-603MAY Y03002524MAY 10832195MAY 11412255MAY 4005F304-516MAY 14822396MAY 14822377MAY 13584547MAY 7432P062-607MAY 14822247MAY 7711P173-608MAY 06072149MAY 15552229MAY Y06072159MAY 155525110MAY 155525410MAY 155525811MAY 156626712MAY 7505P057-6012MAY 156628113MAY 7513E02814MAY 166524815MAY 198631917MAY 086244519MAY 086243420MAY 086243521MAY 086247023MAY 7515P015-6024MAY 193025424MAY 193032125MAY Y093610226MAY 093120227MAY 7501P021-6028NOT REQUIRED PART OR SEE NOTE FUSE (NOT REQUIRED)29MAY 7502P031-60