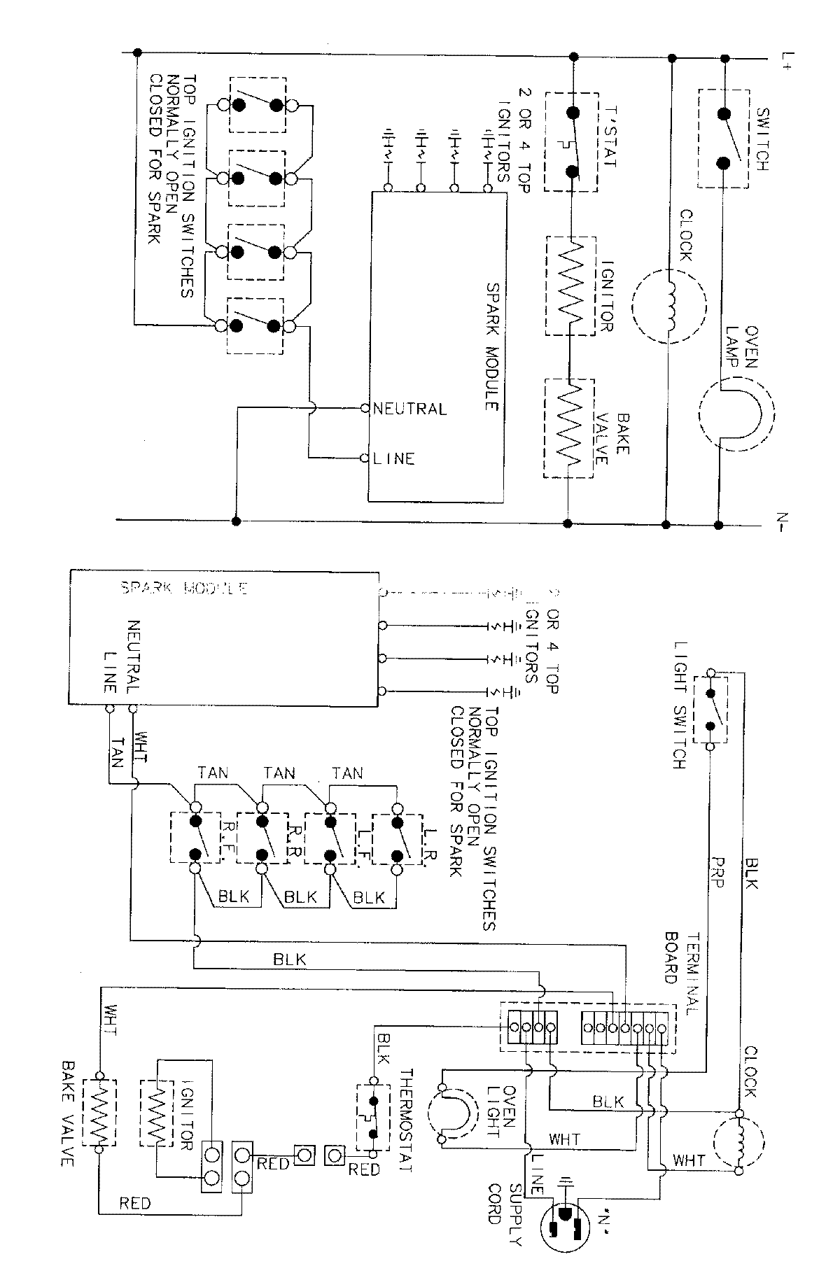
32211WAV 07 – WIRING INFORMATIONadmin2025-04-26T09:10:51+00:0032211WAV 07 – WIRING INFORMATION ProductsPositionProductNIMAY 15001767