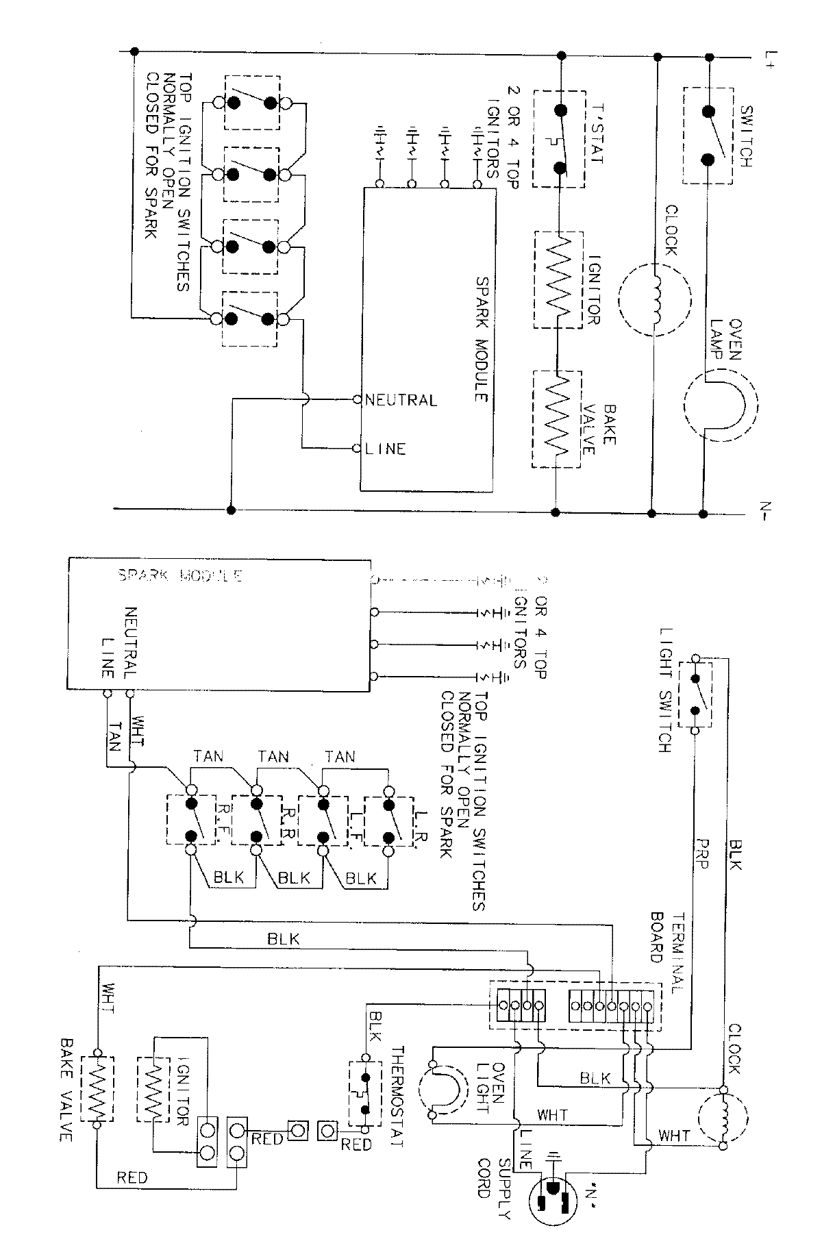
32211XAA 07 – WIRING INFORMATIONadmin2025-04-26T09:09:39+00:0032211XAA 07 – WIRING INFORMATION ProductsPositionProductNIMAY 15001767