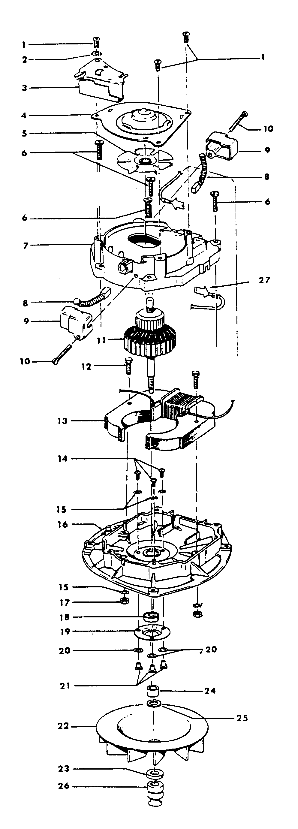
336 05 – MOTOR ASSEMBLY