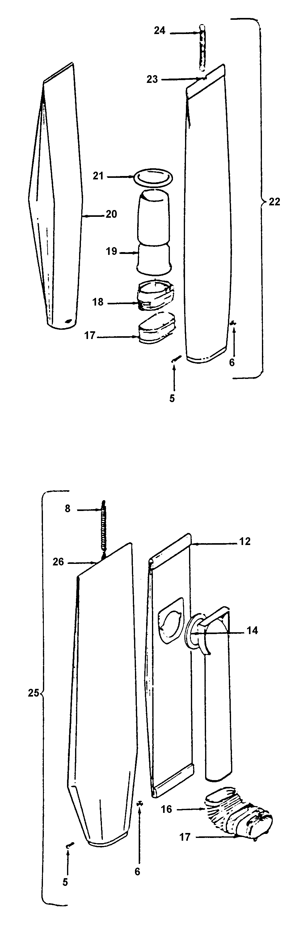
341 02 – BAGHOUSINGadmin2025-04-26T09:11:44+00:00341 02 – BAGHOUSING ProductsPositionProduct5MAY 017206--6MAY 015854--12MAY 3865700412MAY 4010001A14MAY 3217400416MAY 3867300917MAY 4142401118MAY 011064JM19MAY 3863200220MAY 4010003C21MAY 3852700422MAY 4367833123MAY 4367732124MAY 3833601425MAY 4367833026MAY 4367732227MAY 3695300427MAY 41129008