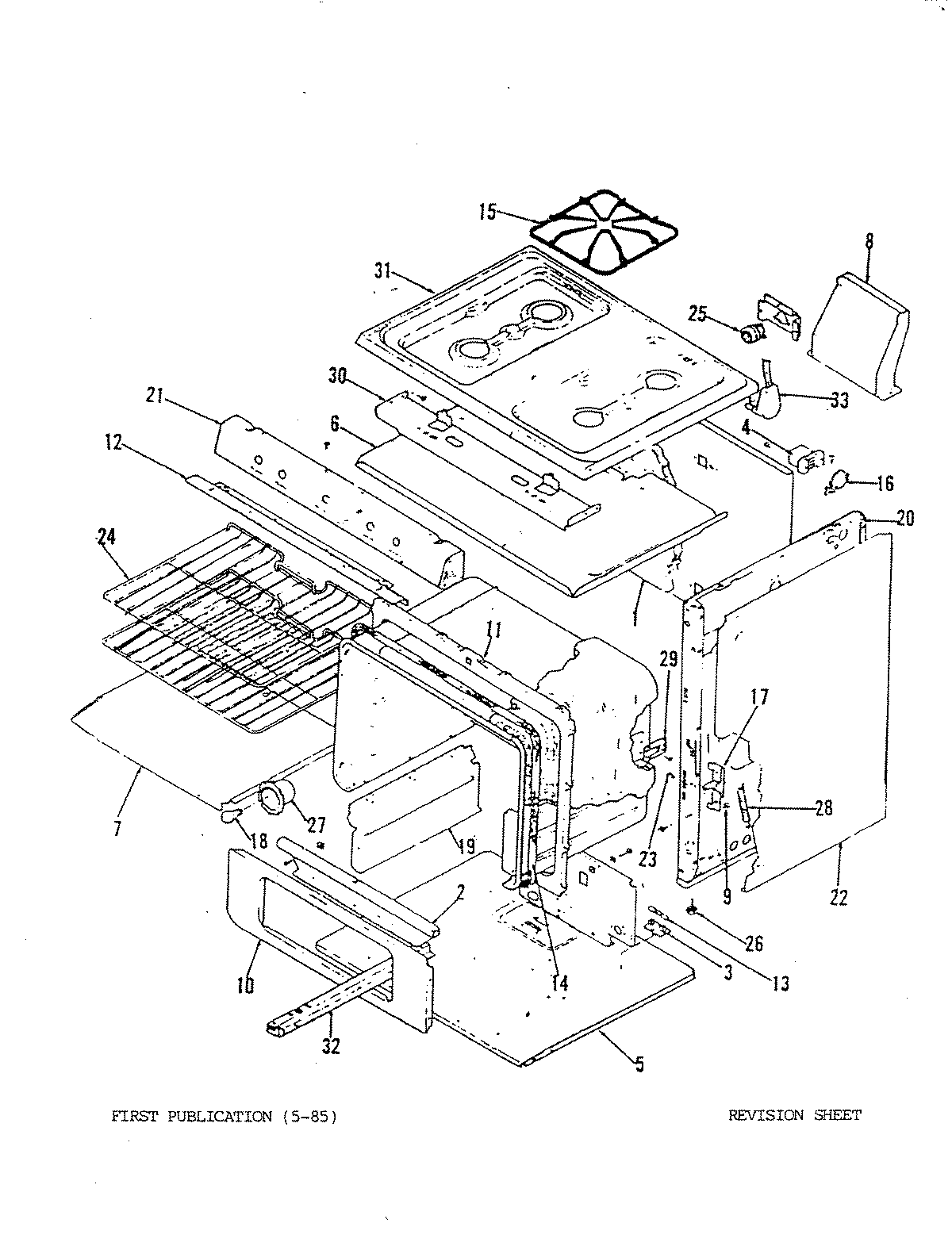
34FA-92CKXW 01 – BODY

34FA-92CKXW 01 – BODY