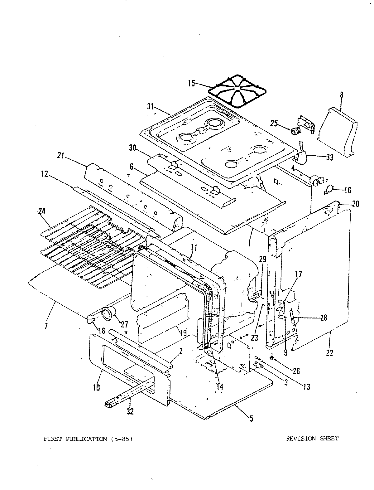
34FN-92CK 01 – BODY