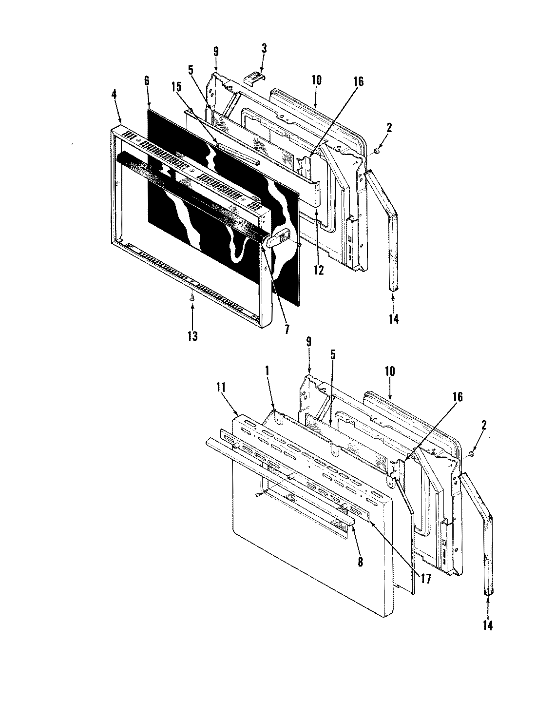
| 1 | MAY 3601F058 |
| 1 | MAY 2410F011-51 |
| 2 | MAY 1784200 |
| 2 | MAY 1135224 |
| 3 | MAY 7706E056 |
| 3 | MAY 7112E031 |
| 4 | MAY 7706E007 |
| 4 | MAY 7706P222-60 |
| 4 | MAY 7706P243-60 |
| 6 | MAY 7902E063 |
| 7 | MAY 7701E019 |
| 8 | MAY 2404F015 |
| 8 | MAY 7728E012 |
| 9 | MAY 2422H082 |
| 9 | MAY 2402W125-12 |
| 9 | MAY 2402W128-15 |
| 10 | MAY 2430F017 |
| 10 | MAY 1430299K |
| 10 | MAY 2410A028-12 |
| 11 | MAY 1584211 |
| 11 | MAY 1584209 |
| 12 | MAY 3804F040 |
| 13 | MAY 1986258 |
| 14 | MAY 1726250 |
| 15 | MAY 1790300 |
| 15 | MAY Y0112241 |
| 15 | MAY 1726252 |
| 17 | NOT REQUIRED PART OR SEE NOTE FUSE (NOT REQUIRED) |