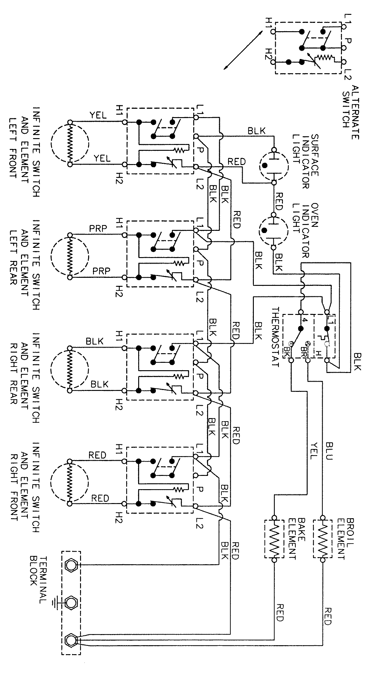
3500PPA 05 – WIRING INFORMATIONadmin2025-04-26T09:05:41+00:003500PPA 05 – WIRING INFORMATION ProductsPositionProductNIMAY 15002207