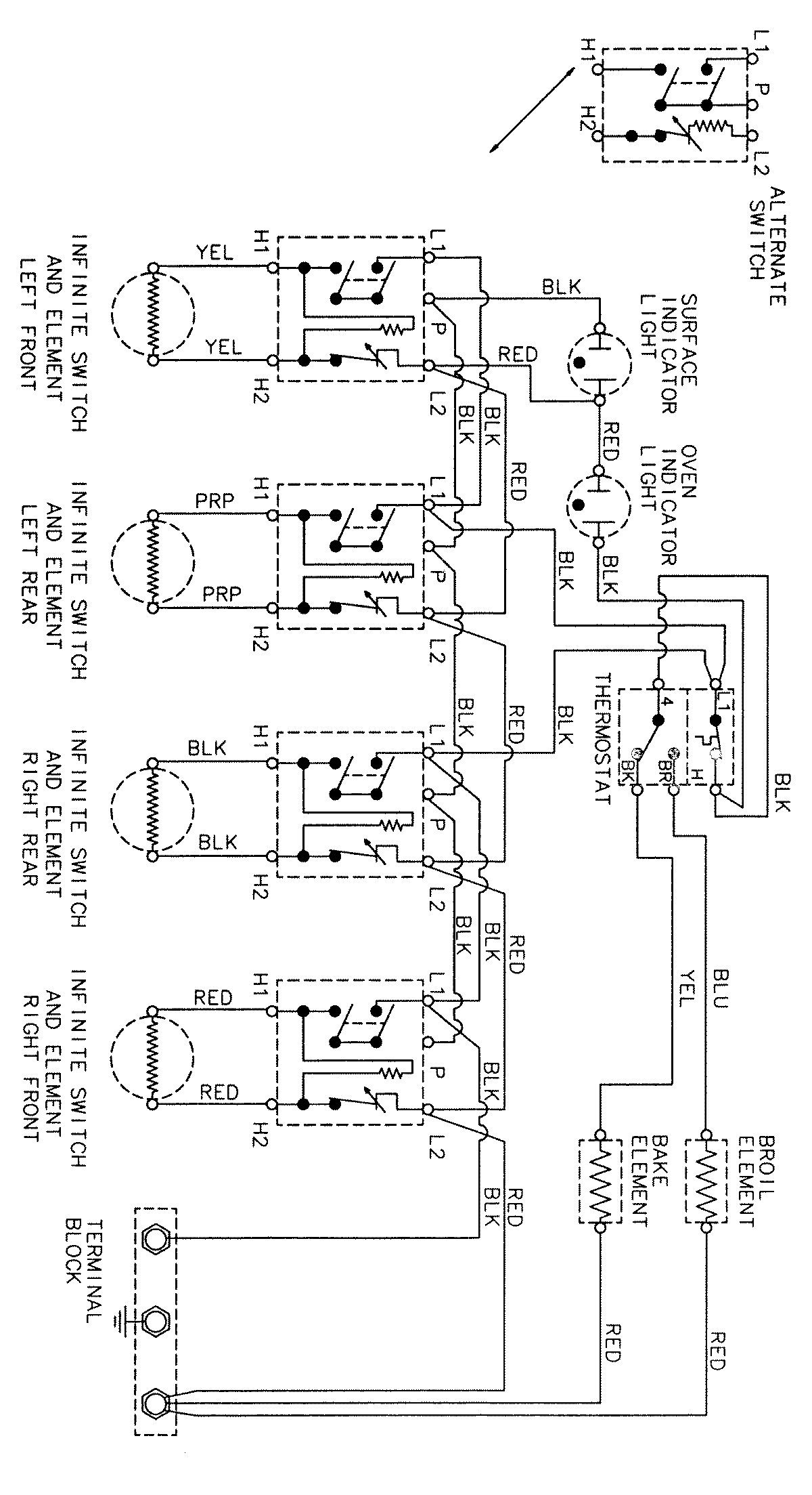
3500PPW 06 – WIRING INFORMATIONadmin2025-04-26T09:05:43+00:003500PPW 06 – WIRING INFORMATION ProductsPositionProductNIMAY 15002207