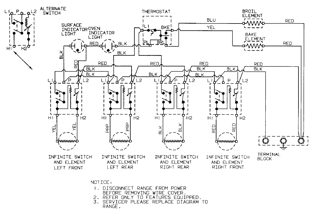
3500PPW-D 05 – WIRING INFORMATIONadmin2025-04-26T09:07:40+00:003500PPW-D 05 – WIRING INFORMATION ProductsPositionProductNIMAY 15001148