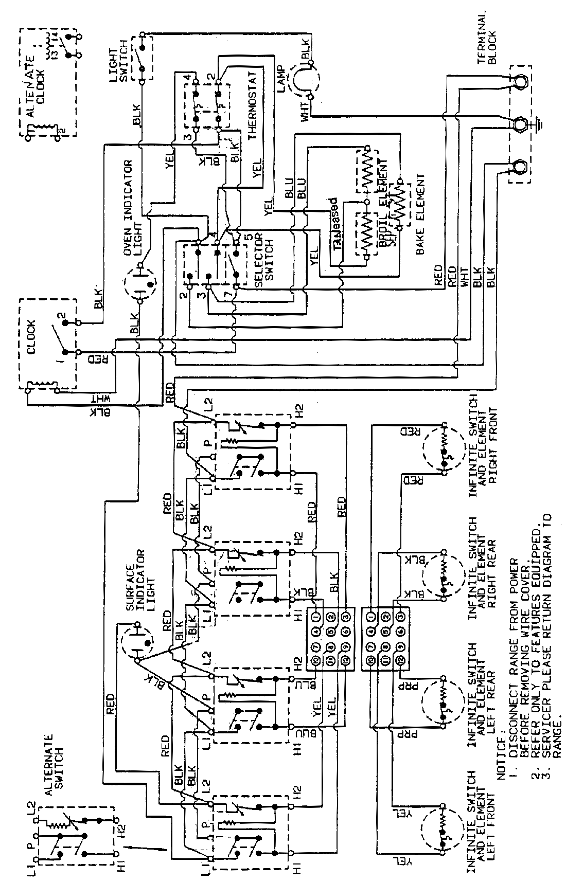
3624XRA 06 – WIRING INFORMATIONadmin2025-04-26T09:11:15+00:003624XRA 06 – WIRING INFORMATION ProductsPositionProductNIMAY 15002239