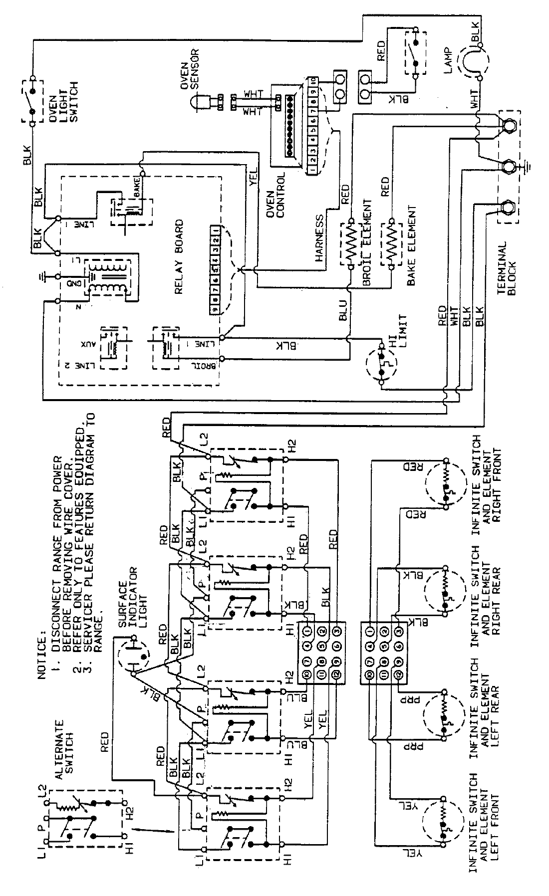
3865XRW 06 – WIRING INFORMATIONadmin2025-04-26T09:11:11+00:003865XRW 06 – WIRING INFORMATION ProductsPositionProductNIMAY 15002240