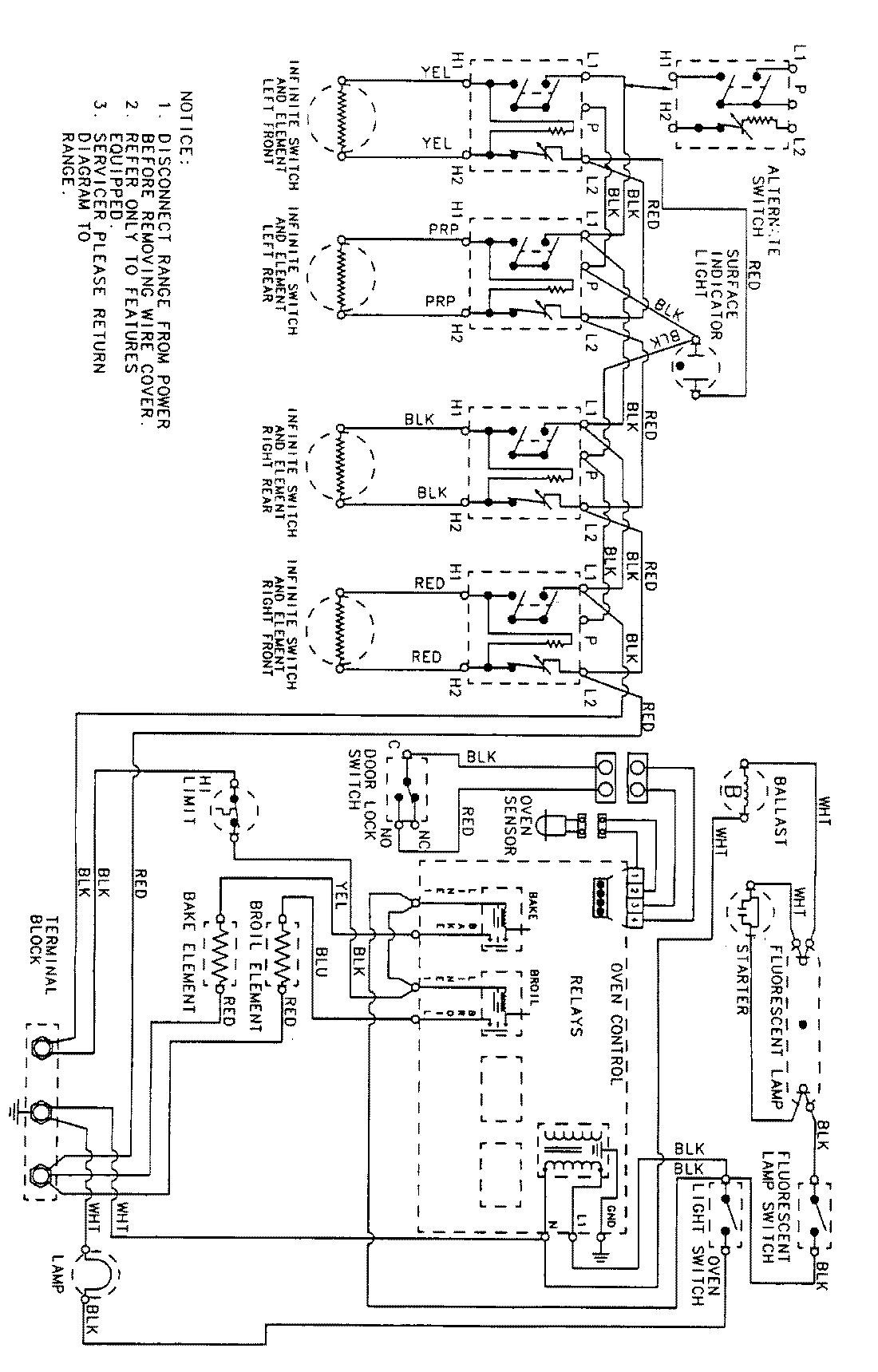
3882XRA 06 – WIRING INFORMATIONadmin2025-04-26T09:10:59+00:003882XRA 06 – WIRING INFORMATION ProductsPositionProductNIMAY 15001817