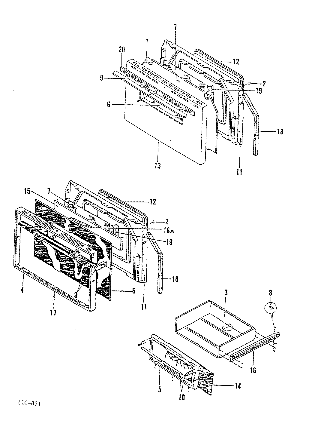
38FA-2CX-ON 03 – DOOR