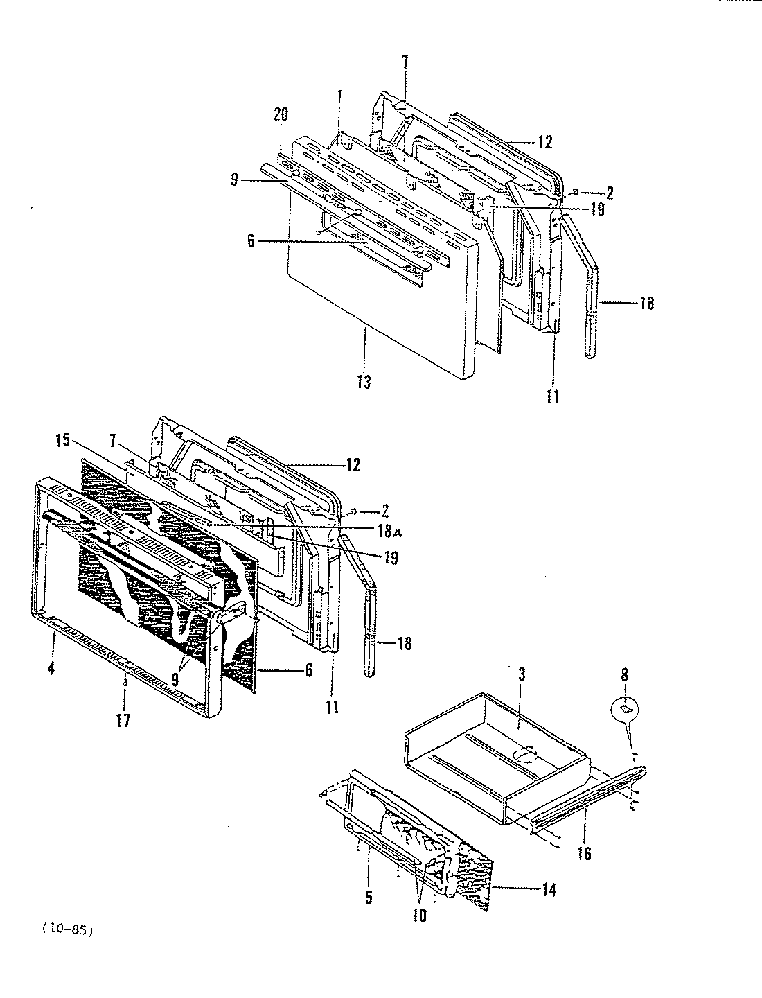
38FG-4CXW 03 – DOOR