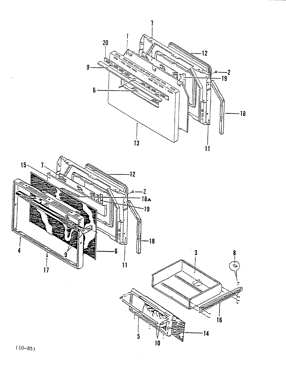
38FY-4TXW 03 – DOOR