| 350930 Whirlpool White Spray Paint |
| 72109 Whirlpool Dacor Avocado Touch-Up Paint |
| Paint, Spray 13 Oz. (Avocado) |
| Golden Harvest (Uncut) |
| Golden Harvest |
| Enamel, New Avocado (1 Qt. Uncut) |
| WPL LIT687458 |
| 72110 Whirlpool Dryer Touch-Up Paint, Golden Harvest 6 Oz |
| WPL LIT348772 |
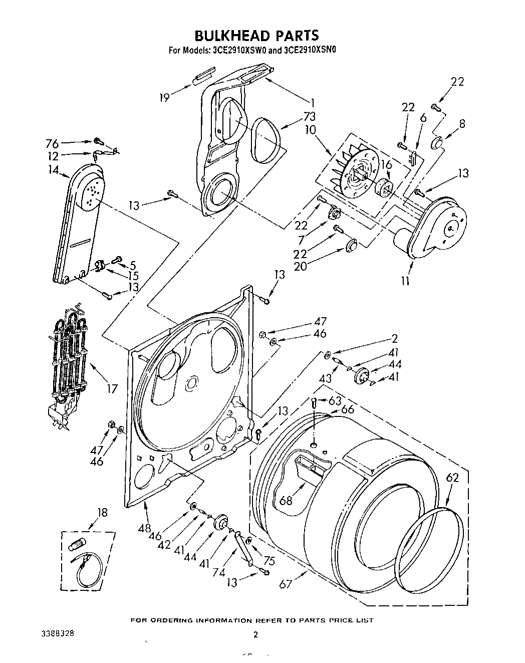
| WPL LIT3388328 |
| 72017 Whirlpool Appliance Touch-Up Paint White |
| Almond (Uncut) |
| Leveler (Thinner) |
| WP72107 Whirlpool Touchup |
| 799344 Whirlpool Refrigerator Paint |
| 350938 Whirlpool Spray Gun |
| 350956 Whirlpool Spray Assembly |
| 1 | 279505 Whirlpool Chute |
| 2 | WP3388703 Whirlpool Washer |
| 6 | WP3390719 Whirlpool Dryer Thermal Fuse |
| 7 | WP694674 Whirlpool Cycling Thermostat |
| 10 | WP694089 Whirlpool Dryer Blower Wheel |
| 11 | Housing, Blower |
| 12 | 279771 Whirlpool Clip |
| 13 | SCREW |
| 14 | Box, Heater |
| 15 | 279054 Whirlpool Dryer High Limit Thermostat L290 3W |
| 16 | Seal, Blower |
| 17 | Element, Heater |
| 18 | 279457 Whirlpool Dryer Heating Element Wide Spade Connection |
| 19 | 686770 Whirlpool Support Bracket |
| 22 | WP90767 Whirlpool Screw |
| 41 | WPW10512946 Whirlpool Dryer Tri-Ring Drum Roller |
| 42 | SHAFT SUPPORT ROLLER DRYER |
| 43 | SHAFT SUPPORT ROLLER DRYER |
| 44 | 349241T Whirlpool Dryer Drum Support Roller Kit |
| 46 | WP348197 Whirlpool Washer Assembly |
| 47 | WP358160 Whirlpool Nut |
| 48 | Bulkhead |
| 62 | WP3394508 Whirlpool Bearing Ring |
| 63 | Screw, 11-16 x 7/8 |
| 66 | 239087 Whirlpool Dryer Rear Drum Seal Green Stitches |
| 67 | 3396775 Whirlpool Drum Assembly |
| 68 | WP342847 Whirlpool Drum Baffle |
| 73 | SEAL |
| 74 | Bracket, Support |
| 75 | WP90296 Whirlpool Clip |