| Instruction Booklet |
| WPL LIT628107 |
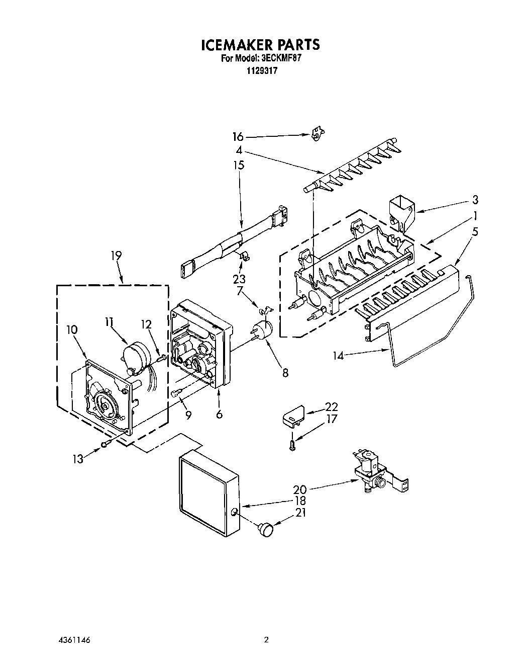
| Parts List |
| 1 | WPW10122523 Whirlpool Refrigerator Ice Mold |
| 3 | WP628356 Whirlpool Refrigerator Fill Cup |
| 4 | WP627843 Whirlpool Refrigerator Ejector Arm |
| 5 | WP2182124 Whirlpool Refrigerator Stripper Arm |
| 6 | WP2195914 Whirlpool Refrigerator Ice Maker Housing |
| 7 | WP2315522 Whirlpool Refrigerator Clip |
| 8 | WP627985 Whirlpool Icemaker Cycling Thermostat |
| 9 | Screw, 10-32 x 49/64 |
| 11 | W10190935 Whirlpool Refrigerator Icemaker Motor Module Assembly |
| 12 | 489136 Whirlpool Refrigerator Screw |
| 13 | WP681249 Whirlpool Screw Assembly |
| 14 | WP627792 Whirlpool Refrigerator Shut Off Arm |
| 15 | WP2187464 Whirlpool Refrigerator Wire Harness |
| 16 | WP627712 Whirlpool Refrigerator Mounting Clip |
| 17 | WP489128 Whirlpool Refrigerator Screw |
| 18 | Cover |
| 19 | W10190933 Whirlpool Refrigerator Motor Assembly |
| 20 | Valve, Solenoid |
| 21 | Knob, Water |
| 22 | W11500948 Whirlpool Refrigerator Bracket |
| 23 | W10823511 Whirlpool Refrigerator Water Tube |
| 23 | WP2158826 Whirlpool Refrigerator Dampener |
| 23 | WP489478 Whirlpool Refrigerator Screw |
| 23 | WP1106508 Whirlpool Refrigerator Gasket |
| 23 | WP628379 Whirlpool Refrigerator Clip |
| 23 | Tube, Inlet Valve |
| 23 | Trim, Ice Pan |
| 23 | Accessory Bag, Inside Parts |
| 23 | Accessory Bag, Outside Parts |
| 23 | WP489069 Whirlpool Compactor Screw |
| 23 | Nut, Valve |
| 23 | Washer |
| 23 | WP488163 Whirlpool Refrigerator Screw |
| 23 | WP627018 Whirlpool Refrigerator Nut |
| 23 | 4387491 Whirlpool Refrigerator Insert |
| 23 | 549193 Whirlpool Refrigerator Power Clamp |
| 23 | PAN-ICE |
| 23 | WP488366 Whirlpool Refrigerator Clamp |
| 23 | WP488878 Whirlpool Refrigerator Tube Clamp |
| 23 | WP2196157 Whirlpool Fill Tube |
| 23 | Clamp Tube |
| 23 | WPW10141625 Whirlpool Refrigerator Screw Assembly |
| 23 | WP2187501 Whirlpool Refrigerator Wire Harness |
| 23 | Tube, Water Inlet |