3ED25DQXAN00 12 – ICEMAKER, LIT/OPTIONALadmin2025-04-26T12:15:48+00:003ED25DQXAN00 12 – ICEMAKER, LIT/OPTIONAL
Products
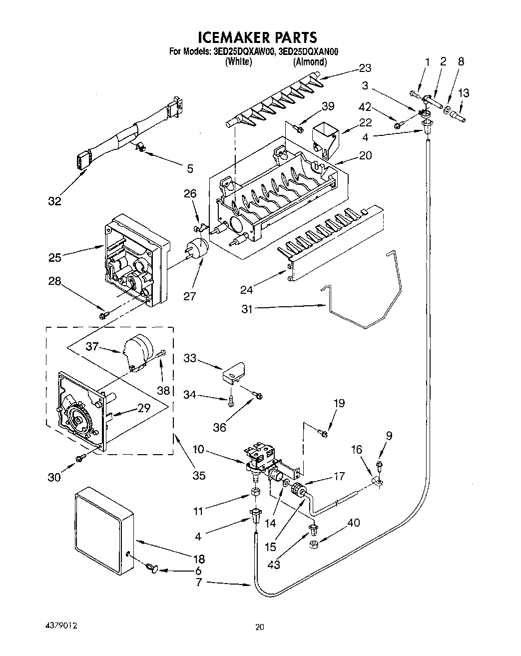
| Position | Product |
|---|
| WPW10312300 Whirlpool Refrigerator Ice Container |
| WPL LIT2165242 |
| WPL LIT4379012 |
| WPL LIT2165246 |
| WPL LIT628371 |
| Torx Key |
| 2 | WP2196157 Whirlpool Fill Tube |
| 3 | WP488878 Whirlpool Refrigerator Tube Clamp |
| 4 | 4387491 Whirlpool Refrigerator Insert |
| 5 | WP628379 Whirlpool Refrigerator Clip |
| 6 | WP489115 Whirlpool Refrigerator Rivet |
| 7 | W10823511 Whirlpool Refrigerator Water Tube |
| 8 | WP1106508 Whirlpool Refrigerator Gasket |
| 9 | WP489478 Whirlpool Refrigerator Screw |
| 10 | Valve, Solenoid |
| 11 | WP627018 Whirlpool Refrigerator Nut |
| 13 | Tube, Water Inlet |
| 14 | Washer |
| 15 | Tube, Inlet Valve |
| 16 | Clamp Tube |
| 17 | Nut, Valve |
| 18 | Cover |
| 19 | WPW10141625 Whirlpool Refrigerator Screw Assembly |
| 20 | WPW10122523 Whirlpool Refrigerator Ice Mold |
| 22 | WP628356 Whirlpool Refrigerator Fill Cup |
| 23 | WP627843 Whirlpool Refrigerator Ejector Arm |
| 24 | WP2182124 Whirlpool Refrigerator Stripper Arm |
| 25 | WP2195914 Whirlpool Refrigerator Ice Maker Housing |
| 26 | WP2315522 Whirlpool Refrigerator Clip |
| 27 | Cement Alumilastic) |
| 27 | WP627985 Whirlpool Icemaker Cycling Thermostat |
| 28 | 8533917 Whirlpool Refrigerator Screw |
| 30 | WP681249 Whirlpool Screw Assembly |
| 31 | W11342242 Whirlpool Refrigerator Ice Level Arm |
| 32 | WP2187464 Whirlpool Refrigerator Wire Harness |
| 33 | W11500948 Whirlpool Refrigerator Bracket |
| 34 | Screw, 8-32 x 27/64 |
| 36 | Screw, 8-15 x 1/2 (4) |
| 37 | W10190933 Whirlpool Refrigerator Motor Assembly |
| 38 | 489136 Whirlpool Refrigerator Screw |
| 39 | WP488163 Whirlpool Refrigerator Screw |
| 40 | Nut, Compression |
| 42 | WP488787 Whirlpool Refrigerator Screw |
| 43 | Almond (Uncut) |
| 43 | 350956 Whirlpool Spray Assembly |
| 43 | Transformer (115-230 Volt) |
| 43 | 72017 Whirlpool Appliance Touch-Up Paint White |
| 43 | 799344 Whirlpool Refrigerator Paint |
| 43 | WP72107 Whirlpool Touchup |
| 43 | Leveler (Thinner) |
| 43 | 350930 Whirlpool White Spray Paint |
| 43 | WPL 799833 |
| 43 | Insert, Tube |
| 43 | 212643 Whirlpool Refrigerator Permagum Sealer |
| 43 | 350942 Whirlpool Spray Paint |
| 43 | Enamel, Black (1 Qt. Uncut) |
| 43 | TAPE, VINYL (3/4 X 108``) |
| 43 | WPL 876029 |
| 43 | WP542638 Whirlpool Refrigerator Grease |
| 43 | WP505587 Whirlpool Refrigerator Sealer |
| 43 | 876370 Whirlpool Refrigerator Insulation |
| 43 | WP503695 Whirlpool Refrigerator Sealer |
| 43 | 285006 Whirlpool Spray |
| 43 | 72032 Whirlpool Touch Up Paint Black |
| 43 | 833938 Whirlpool Refrigerator Terminal |
| 43 | 606755 Whirlpool Refrigerator Bag |
| 43 | 511873 Whirlpool Refrigerator Paint |
| 43 | CEMENT, ALUMILASTIC (1 1/4 OZ.) |