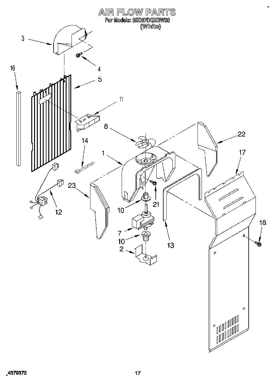
3ED27DQXBW00 10 – AIR FLOWadmin2025-04-26T12:15:24+00:003ED27DQXBW00 10 – AIR FLOW ProductsPositionProduct1WP2182120 Whirlpool Refrigerator Scroll Fan2WP2155590 Whirlpool Refrigerator Retainer3Air Scoop4WP488729 Whirlpool Refrigerator Door Screw5Air Duct Freezer7Fan, Motor8WP2169142 Whirlpool Fan Blade10Grommet, Fan (2)112182146 Whirlpool Refrigerator Duct12Harness, Fan Evaporator, And Heater, Bi-Metal13WP2155789 Whirlpool Refrigerator Gasket14WPW10339879 Whirlpool Wire Tie16WP2304241 Whirlpool Refrigerator Gasket17Cover, Evaporator18SCREW21WP489478 Whirlpool Refrigerator Screw224388358 Whirlpool Refrigerator Support Bracket