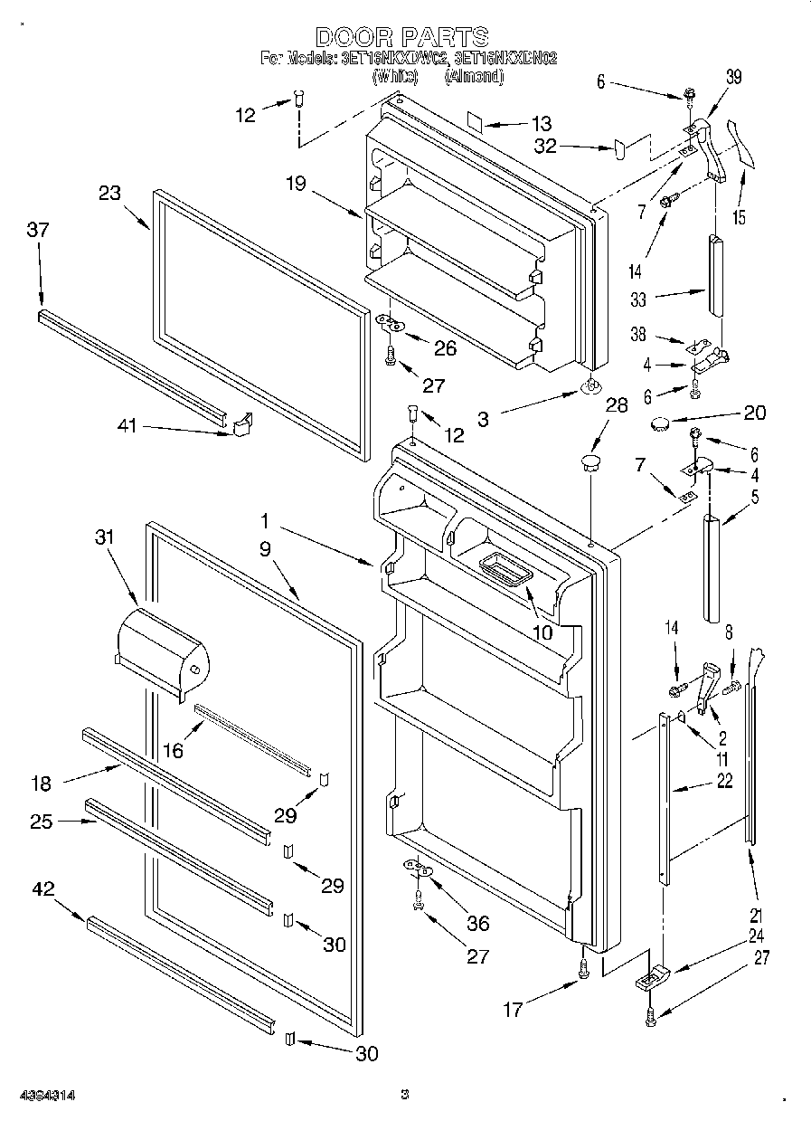
3ET16NKXDW02 02 – DOOR