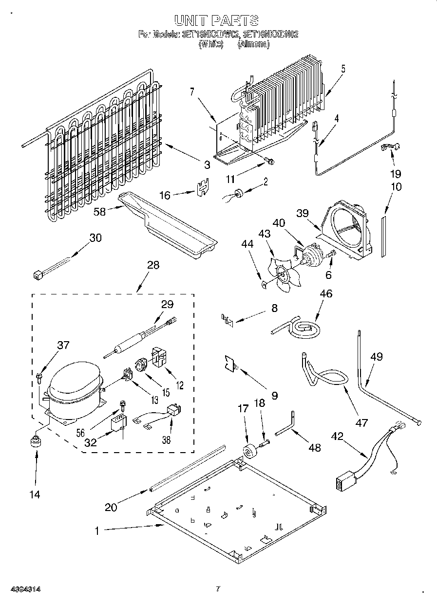
3ET16NKXDW02 04 – UNIT