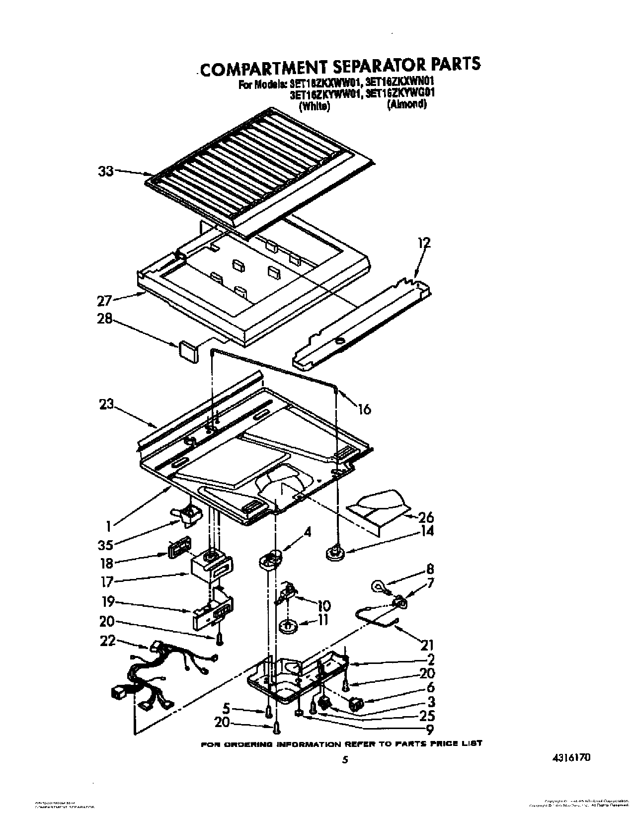
3ET16ZKYWN01 04 – COMPARTMENT SEPARATOR