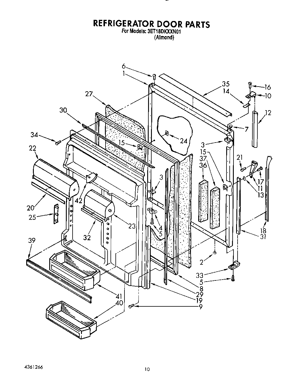
3ET18DKXXW01 07 – REFRIGERATOR DOORadmin2025-04-26T10:52:37+00:003ET18DKXXW01 07 – REFRIGERATOR DOOR ProductsPositionProduct1Panel, Refrigerator Door (Also Order Item 27) (Almond)2Hole Plug (2)3W10833053 Whirlpool Refrigerator Plate4Bracket, Door Stop5WP488921 Whirlpool Refrigerator Screw6WP8281206 Whirlpool Refrigerator Screw7Hole Plug (Almond)8Door Gasket, Magnetic9WP489069 Whirlpool Compactor Screw10Handle End11Handle End, Side12Handle, Center13Shim14Spa15WP939101 Whirlpool Refrigerator Plate16WP488920 Whirlpool Refrigerator Screw17WP488729 Whirlpool Refrigerator Door Screw18Insert, Handle (For Platinum Model Only)19Interior Door Panel20Trim, Door Compartment21Screw22Compartment Door23Compartment Door24Hole Plug, Handle (Almond)25Pin Plate (8)27WPL 87602929Retainer, Gasket Side (2)30WPL 111513731WPL 111808032WPL 111801433WPL 110580435WPL 111806436WPL 111800837WPL 111800739WPL 111800940WPL 111801041WPL 111801142WP1118001 Whirlpool Hinge Pin