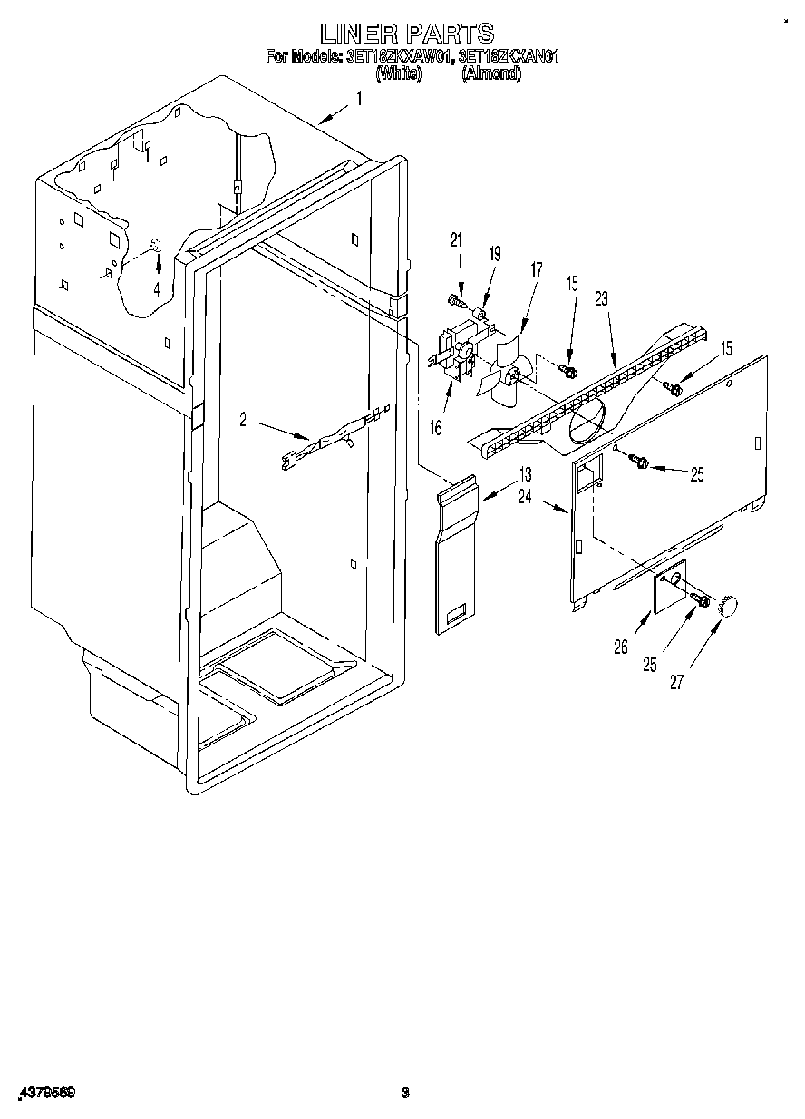
3ET18ZKXAN01 02 – LINER