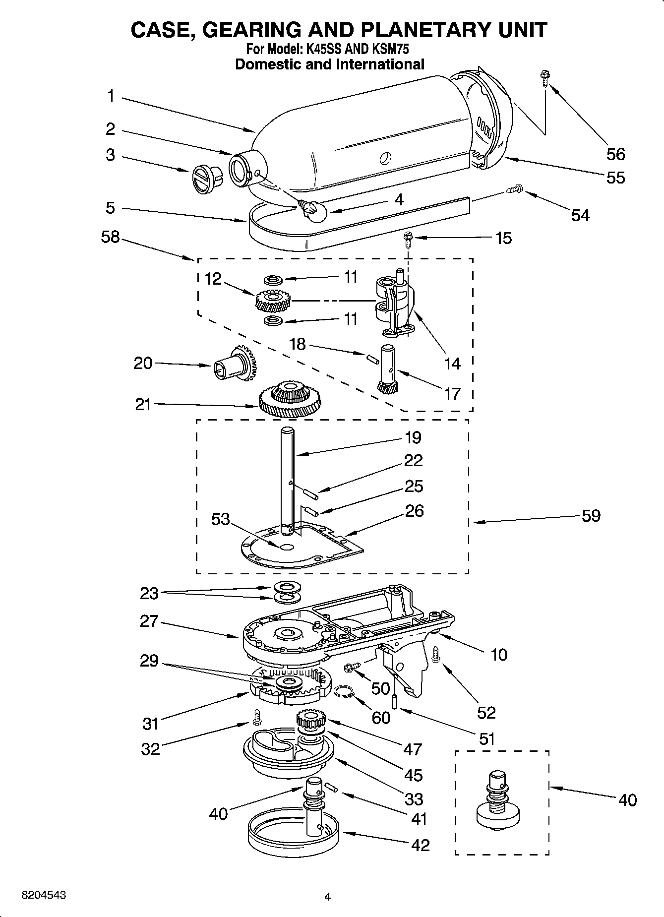
3K45SS 04 – CASE, GEARING AND PLANETARYadmin2025-04-26T10:52:32+00:003K45SS 04 – CASE, GEARING AND PLANETARY ProductsPositionProduct1Motor Housing (White)1Motor Housing (Almond Creme)2WP16897 Whirlpool Bearing3Cap, Attachment Hub4WP9709194 Whirlpool Black Thumb Screw5W11092112 Whirlpool Trim Band59706916 Whirlpool Trim Band5TRIM BAND-K45SS-35W10859323 Whirlpool Band Trim10WP8533914 Whirlpool Lock11WPW10323373 Whirlpool Washer12WPW10112253 Whirlpool Gear Assembly14W11082541 Whirlpool Bearing15W11097298 Whirlpool Dishwasher Screw17WP240210-2 Whirlpool Worm Gear18WP9705444 Whirlpool Pin Groove19WP240026 Whirlpool Control Shaft20Gear, Attachment Hub Bevel (23T)21W11192794 Whirlpool HUB Gear25WP9705443 Whirlpool Pin Groove26WP4162324 Whirlpool Case Gasket27LOWER GEARCASE-White27LOWER GEARCASE (ALMOND CREME)29WPW10323378 Whirlpool Washer31W11340106 Whirlpool Gear Assembly32Screw, Special (5)33PLANETARY-White33Planetary (Almond Creme)40WP243368 Whirlpool Agitator Shaft41Pin (Vertical Center Shaft)42WP240285 Whirlpool Drip Ring45Washer, Shim (.015`` Thk.) (.031`` Thk.)47W11133645 Whirlpool Pinion Gear50W11028216 Whirlpool Screw51WP3400203 Whirlpool Screw52WP3400025 Whirlpool Screw53O RING54WP313808 Whirlpool Screw55END COVER-White55End Cover (Almond Creme)56WP241877 Whirlpool Screw58GEAR-WORM594160474 Whirlpool Control Shaft60WP9703438 Whirlpool Snap Retaining Ring