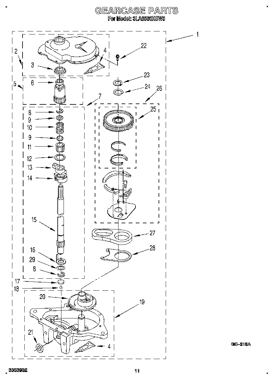
3LA5580XSW3 09 – GEARCASE