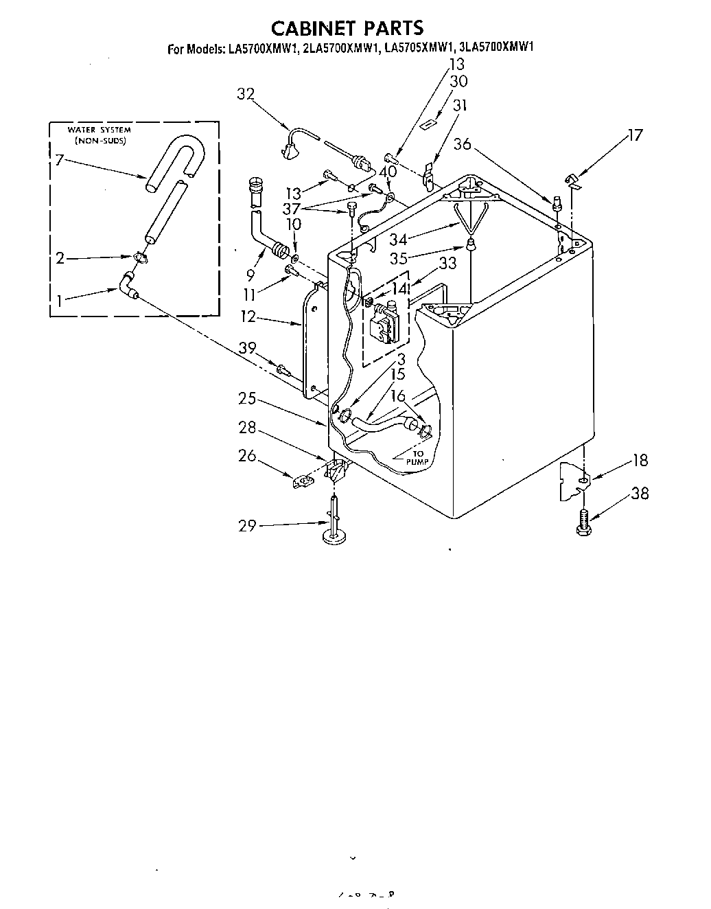
3LA5700XMW1 05 – CABINET